EasyManua.ls Logo

Toa EV-700 - Page 47

Toa EV-700
106 pages
Print Icon
To Next Page IconTo Next Page
To Next Page IconTo Next Page
To Previous Page IconTo Previous Page
To Previous Page IconTo Previous Page
Loading...
47
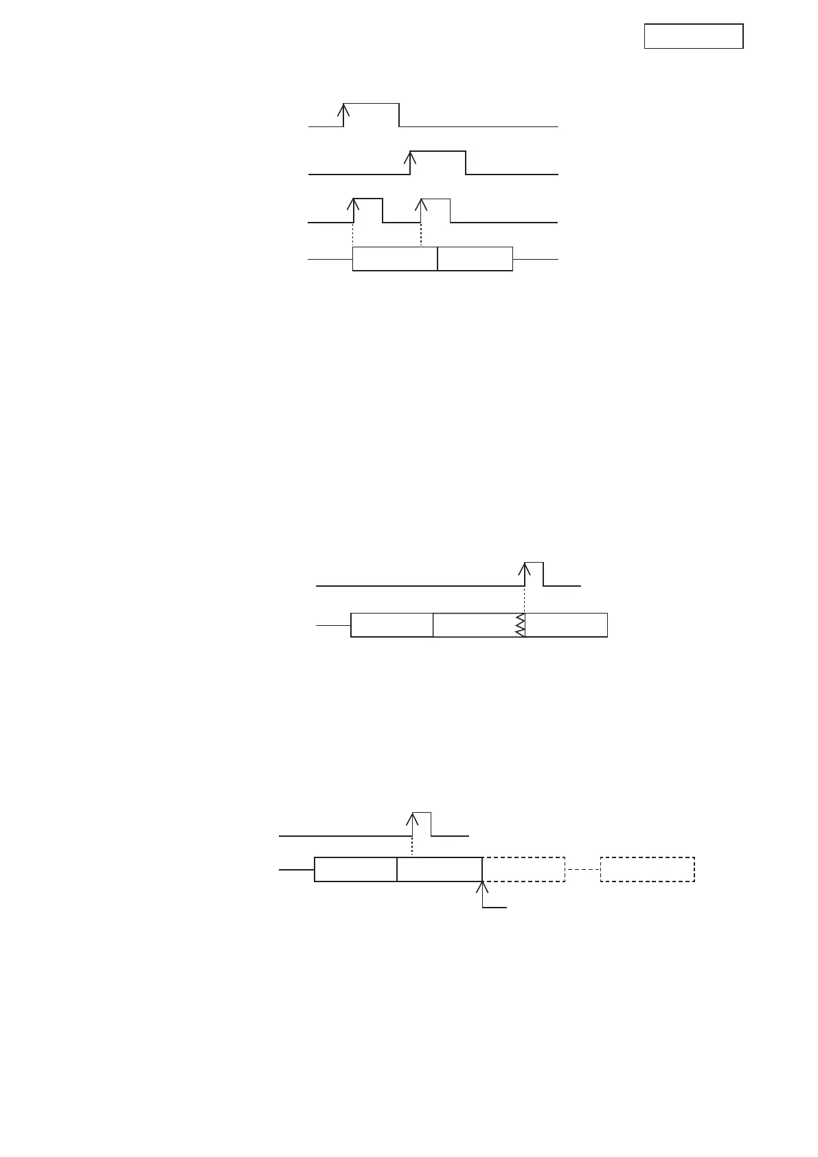
Binary control
Program playback
Playback control input
Contact-activated input P002
Contact-activated input P003
P003 playback
P003 selection
P002 selection
Playback start Playback start
P002 playback
Program playback
Stop control input
P001 playback
P002 playback
P003 playback
ON
Program playback
ON
Delete/Clear control input
P002 playback P003 playbackP001 playback P005 playback
Playback stops.
[(13) Operation of Sequential storage playback by a Pulse signal input activation]
(Activation method)
Close the Playback control input terminal while the Contact-activated input terminal corresponding to the
program number to be played is being closed.
Similarly, close the Contact-activated input terminal and Playback control input terminal in sequence.
(Operation description)
Up to 16 activation inputs can be stored. The program corresponding to each input is played in the order of
entry. In the example above, P002 playback and P003 playback start in order.
If the Contact-activated input terminal corresponding to the same program is closed multiple times, these
activation inputs are stored by the same number of closures.
In this operation of Sequential storage playback, sequential playback is made regardless of the priority level
assigned to the program.
To stop program during playback and automatically play the next program
Close the Stop control input terminal.
P002 playback is interrupted, then the subsequent Program P003 playback will start.
Note
When set to the Spontaneous stop of phrase playback, the next program will be played after the phrase
playback in progress reaches its end.
To clear all the stored inputs
Close the Delete/Clear control input terminal.
Playback stops when P002 playback is complete and no subsequent programs are played.

Table of Contents

Related product manuals