EasyManua.ls Logo

VAMP 265 - Page 190

VAMP 265
220 pages
Print Icon
To Next Page IconTo Next Page
To Next Page IconTo Next Page
To Previous Page IconTo Previous Page
To Previous Page IconTo Previous Page
Loading...
8.3 Serial communication
connectors
8 Connections
Technical description
190
VAMP 24h support phone +358 (0)20 753 3264
VM265.EN011
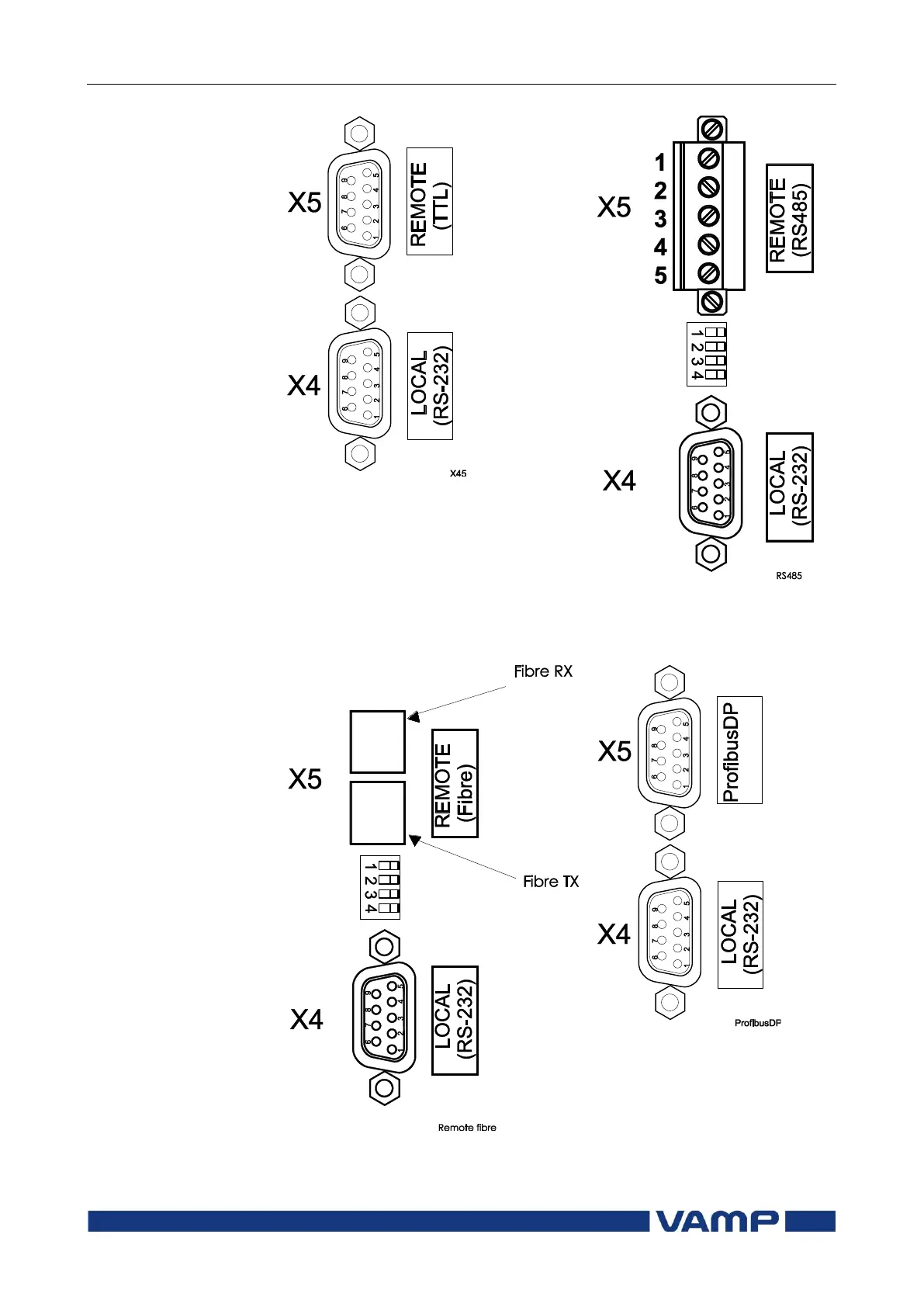
Figure 8.3.2-1 Pin numbering of the rear
communication ports, REMOTE TTL
Figure 8.3.2-2 Pin numbering of the
rear communication ports, REMOTE
RS-485.
Figure 8.3.2-3 Picture of rear
communication port, REMOTE FIBRE.
Figure 8.3.2-4 Pin numbering of the
rear communication ports,
Profibus DP.

Table of Contents

Related product manuals