EasyManua.ls Logo

Volvo EPA2007 D13F - Volvo Engine Brake

Volvo EPA2007 D13F
179 pages
Print Icon
To Next Page IconTo Next Page
To Next Page IconTo Next Page
To Previous Page IconTo Previous Page
To Previous Page IconTo Previous Page
Loading...
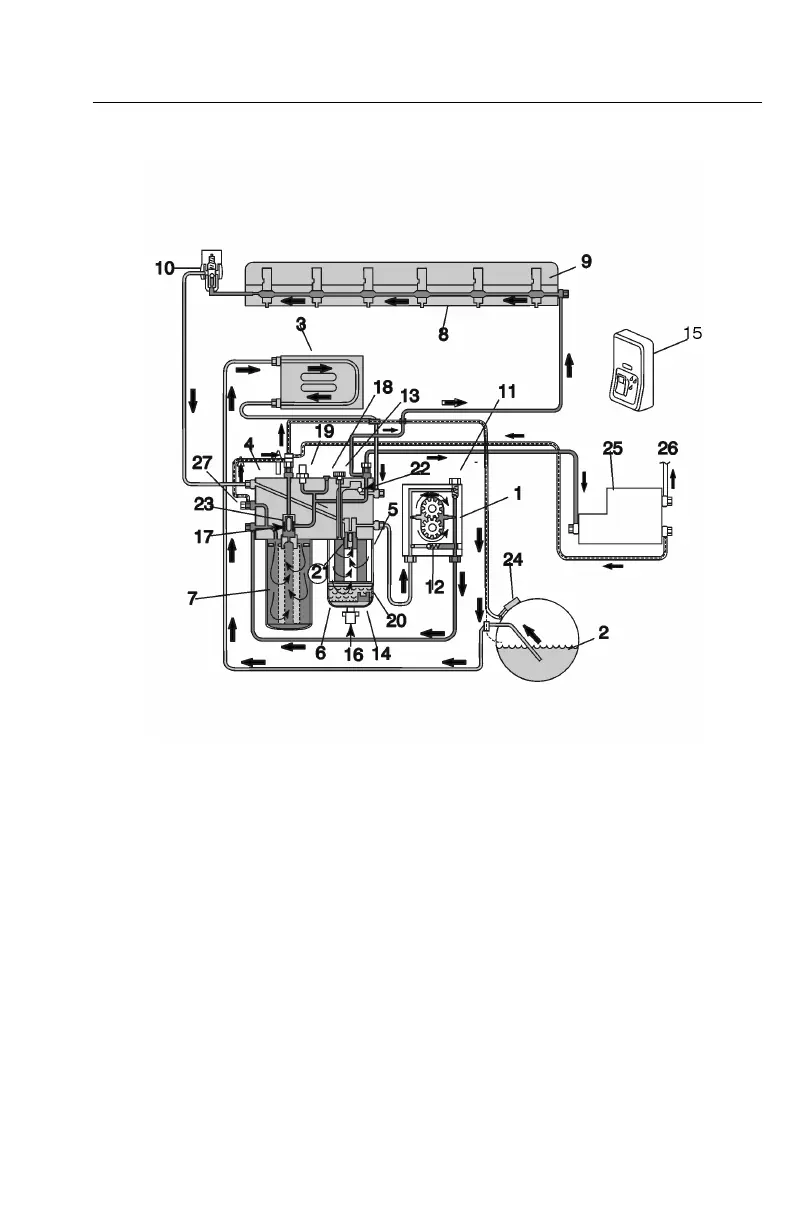
ENGINECOMPONENTANDLOCATION95
FuelSystem
W2033327

Table of Contents

Related product manuals