EasyManua.ls Logo

Volvo EPA2007 D13F - Page 40

Volvo EPA2007 D13F
179 pages
Print Icon
To Next Page IconTo Next Page
To Next Page IconTo Next Page
To Previous Page IconTo Previous Page
To Previous Page IconTo Previous Page
Loading...
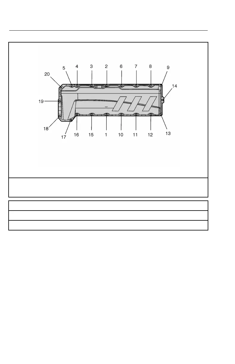
34SPECIFICATIONS
ValveCover
W2032521
Installtwoalignmentpinsandbushingsintheheadbeforeassemblingthevalvecover.
Note:Tightentheboltsinthenumericalordershown,.24±4Nm(18±3ft-lb)
Oilpump,pickuptube..............................................................24±4Nm(18±3ft-lb)
Oillterhousing.......................................................................24±4Nm(18±3ft-lb)
Oillter......................................................................25+5/–0Nm(18.5+3.5/–0ft-lb)

Table of Contents