EasyManua.ls Logo

Wascomat Clarus Control SU620 - To Select the Settings 2 Function

Wascomat Clarus Control SU620
190 pages
Print Icon
To Next Page IconTo Next Page
To Next Page IconTo Next Page
To Previous Page IconTo Previous Page
To Previous Page IconTo Previous Page
Loading...
125
Programme unit
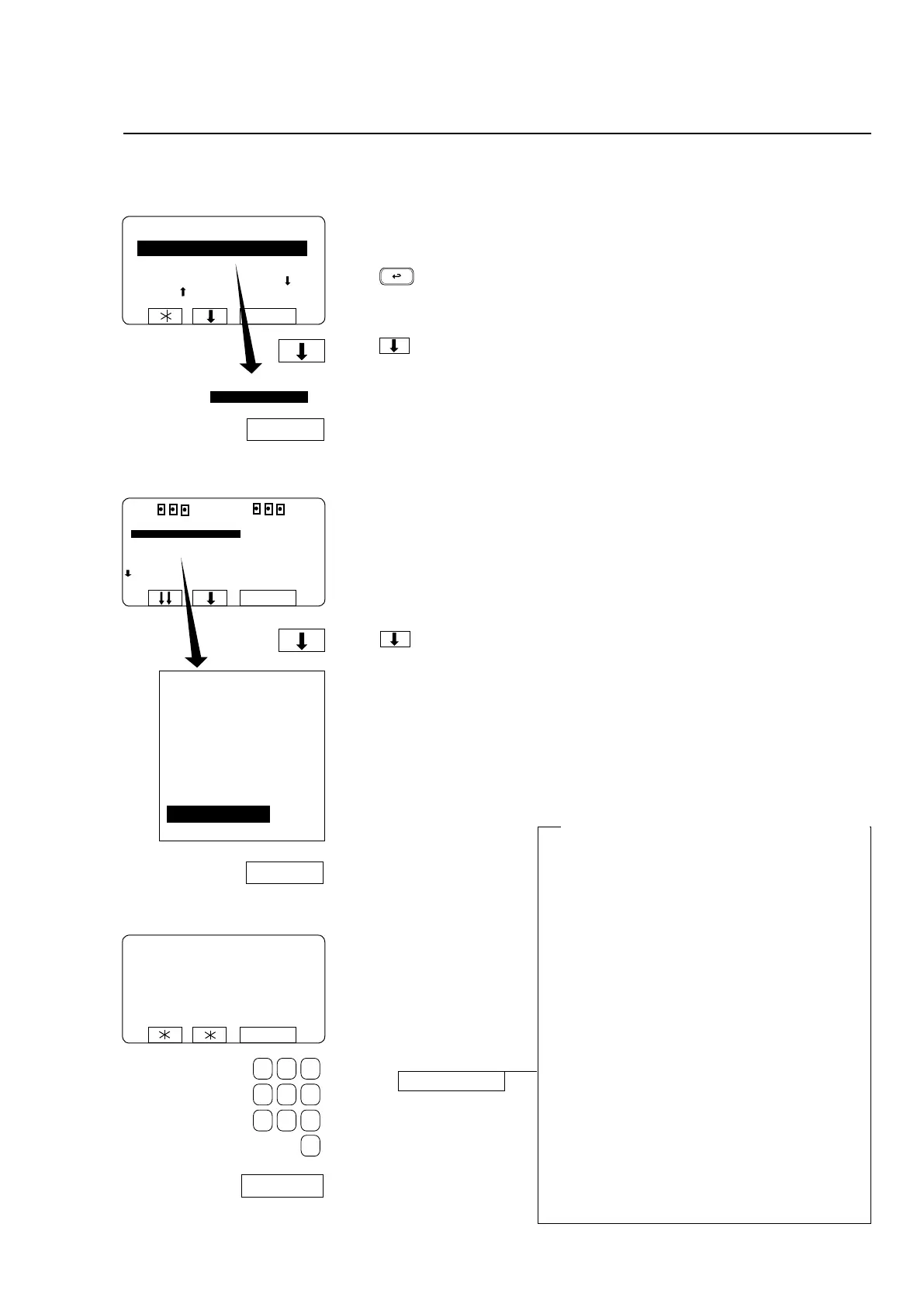
To select the ”SETTINGS 2” function
SELECT
SELECT
RUN A WASH PROGRAM
GO TO THE MENU
If this menu is not currently
displayed:
Press repeatedly.
Press to highlight ”GO
TO THE MENU”.
Press SELECT.
Press several times...
... to highlight ”SETTINGS
2”.
Press SELECT.
MENU
MAKE A CHOICE:
WASH PROGRAM LIBRARY
PROGRAMMING MODE
SETTINGS 1
MEMORY CARD
PAY-PERWASH
SERVICE MODE
WASH PROGRAM LIBRARY
PROGRAMMING MODE
SETTINGS 1
MEMORY CARD
PAY-PER-WASH
SERVICE MODE
STATISTICS
MANUAL FUNCTIONS
SETTINGS 2
EXIT
SELECT
SELECT
1 2 3
4 5 6
7 8 9
0
Enter the four-digit code
supplied by the supplier.
Press SELECT.
PLEASE ENTER YOUR PASSWORD:
SELECT
SELECT
SETTINGS 2
Changes in ”SETTINGS 2” must be approved
by the supplier
The variables which you can change via ”SET-
TINGS 2” belong to a category which, if they are
changed carelessly or incorrectly, could jeopardise
the machine’s safety system(s) or its reliability.
For this reason SETTINGS 2 is protected by a
code/password system. Every time you access
SETTINGS 2 you have to obtain a new password
from the supplier.
The system works like this:
• WhenyouopenSETTINGS2,youwillseean
eight-digitcode.Thiscodewillbedifferenteach
time you open SETTINGS 2.
• Youneedtotellthesupplier,Swedenexactly
what this code was. Using a special computer
program,theywillthenascertainthefour-digit
password which unlocks this code, and give it to
you.Thispasswordwillworkonlywiththeeight-
digit code you have noted this time.
• Onceyouhaveenteredthepassword,youhave
access to SETTINGS 2, and can change func-
tions as required.
CODE: XXXXXXX
RUN A WASH PROGRAM
GO TO THE MENU
MAKE YOUR COICHE WITH
OR AND PRESS SELECT
WEIGHT, KG 000,0

Table of Contents

Related product manuals