EasyManua.ls Logo

Westerbeke Universal M-50 - Page 68

Westerbeke Universal M-50
162 pages
Print Icon
To Next Page IconTo Next Page
To Next Page IconTo Next Page
To Previous Page IconTo Previous Page
To Previous Page IconTo Previous Page
Loading...
Problem Area Determination Section
A.
BATTERY
UNDERCHARGED
1.
Indicator Lamp On.
a.
Perform Open Diode-Trio
Test
(Test
No.1).
2.
Indicator Lamp Off (Ignition
on
and
engine stopped).
a.
Perform Regulator
Test
(Test
No.2)
b.
If Regulator
is
O.K.,
the cause
is
probably
an
open field circuit and Alternator must be
removed for
repair.
3.
Further Investigation Requires Alternator Removal and Repair (diodes).
B.
BATTERY
OVERCHARGED
1.
Regulator Shorted, Replace Unit.
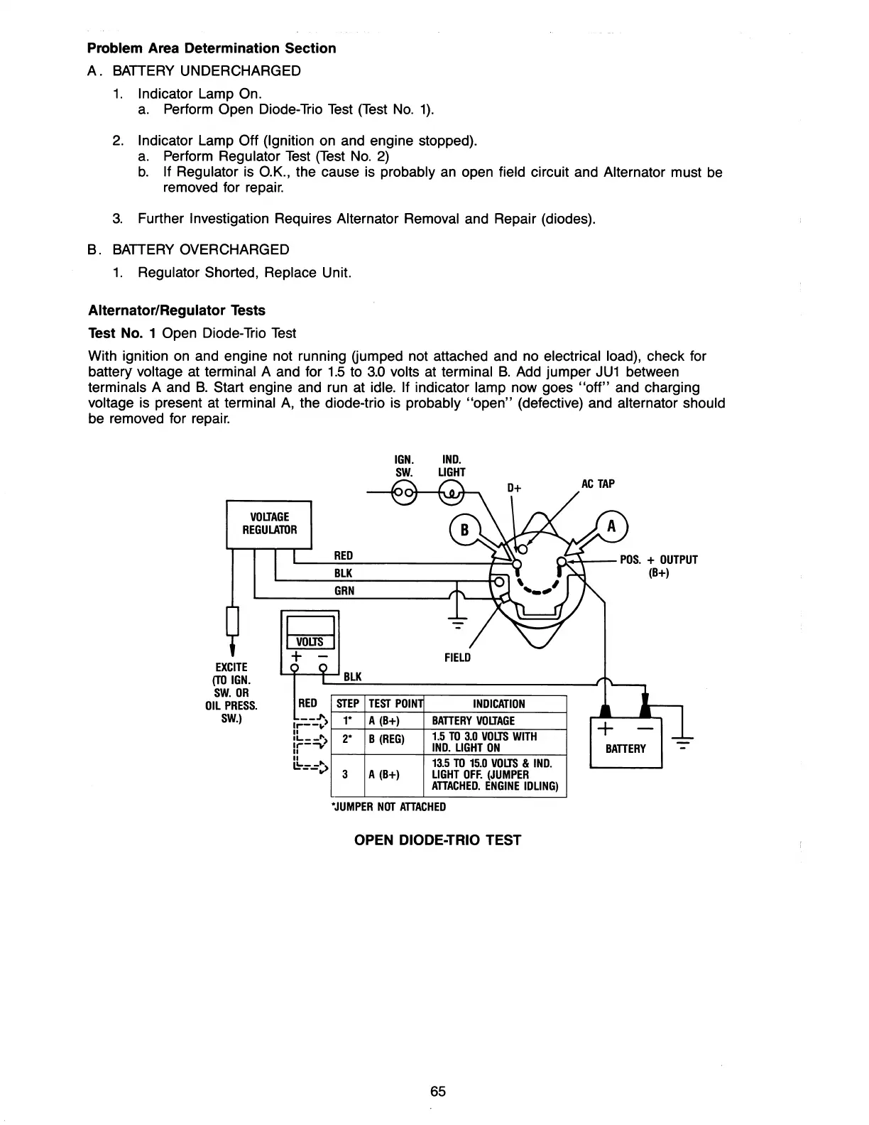
Alternator/Regulator Tests
Test
No.1
Open Diode-Trio
Test
With ignition
on
and
engine not running (jumped not attached and
no
electrical load), check for
battery voltage
at
terminal A and for
1.5
to
3.0
volts
at
terminal
B.
Add
jumper
JU1
between
terminals A and
B.
Start engine and
run
at
idle. If indicator lamp now goes
"off"
and charging
voltage
is
present at terminal
A,
the diode-trio is probably "open" (defective) and alternator should
be removed for
repair.
VOIJAGE
REGULATOR
IGN.
IND.
SW.
UGHT
RED
n.+--
POS.
+
OUTPUT
EXCITE
(TO
IGN.
SW.
OR
OIL
PRESS.
SW.)
BLK
GRN
I
VOIIS
I
+ -
FIELD
L....T-=F--i
BLK
~~~-
______________
J
RED
STEP
TEST
POIN
I'='~)
l'
A (B+)
..
2'
::==:;>
B
(REG)
II
II
~=-.:~
3 A (B+)
INDICATION
BATTERY
VOIJAGE
1.5
TO
3.0
VOIIS
WITH
IND.
UGHT
ON
13.5
TO
15.0
VOIIS
&
IND.
UGHT
OFF.
(JUMPER
ATTACHED.
ENGINE
IDUNG)
'JUMPER
NOT
ATTACHED
OPEN
DIODE-TRIO TEST
65
(B+)
BATTERY

Table of Contents

Related product manuals