EasyManua.ls Logo

Yamaha F50F - Checking the Valve Guides; Replacing the Valve Guides

Yamaha F50F
305 pages
Print Icon
To Next Page IconTo Next Page
To Next Page IconTo Next Page
To Previous Page IconTo Previous Page
To Previous Page IconTo Previous Page
Loading...
POWR
Power unit
5-25
6C13G11
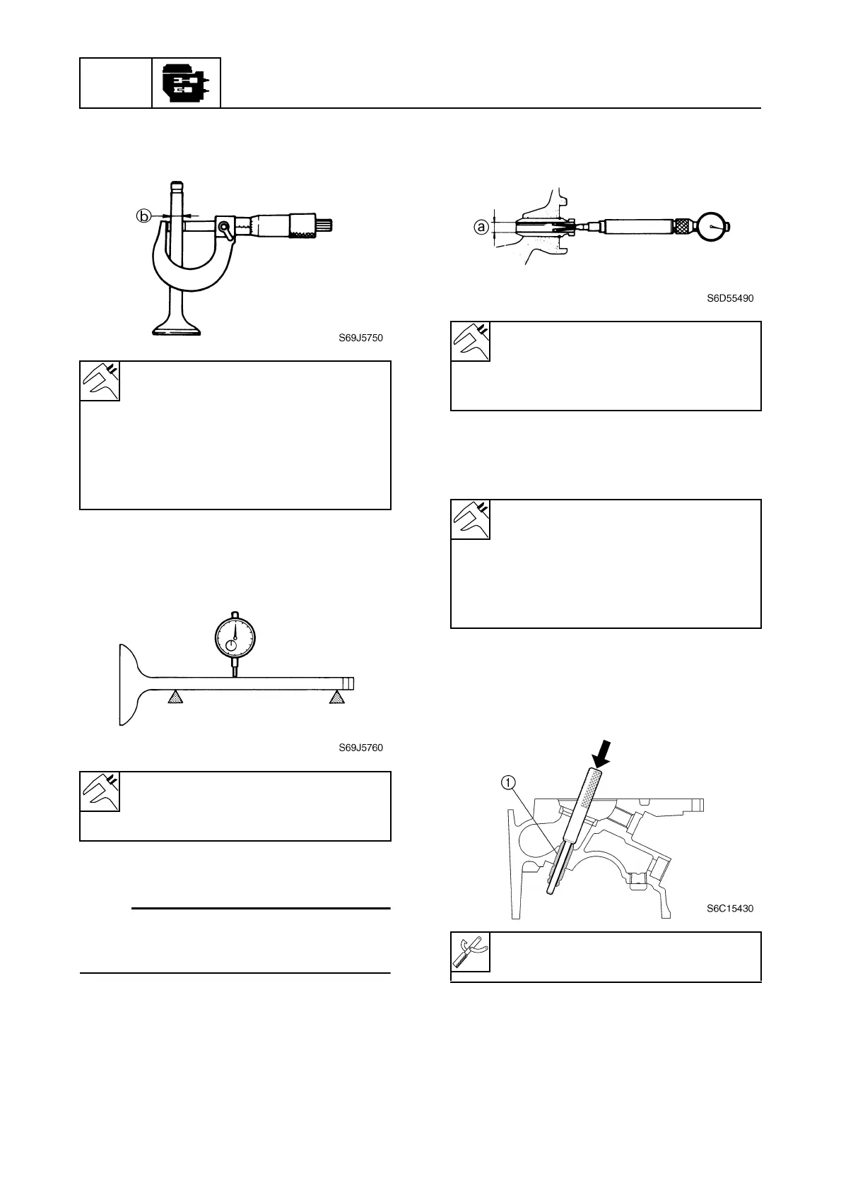
3. Measure the valve stem diameter
b
.
Replace if out of specification.
4. Measure the valve stem runout. Replace
if above specification.
Checking the valve guides
NOTE:
Before checking the valve guide make sure
that the valve stem diameter is within specifi-
cation.
1. Measure the valve guide inside diameter
a
.
2. Calculate the valve stem-to-valve guide
clearance as follows. Replace the valve
guide if out of specification.
Replacing the valve guides
1. Remove the valve guide
1
by striking
the special service tool from the combus-
tion chamber end.
2. Install a new valve guide by striking the
special service tool from the camshaft
end.
Valve stem diameter
b
:
Intake:
5.4755.490 mm
(0.21560.2161 in)
Exhaust:
5.4605.475 mm
(0.21500.2156 in)
Valve stem runout limit:
Intake: 0.05 mm (0.0020 in)
Exhaust: 0.03 mm (0.0012 in)
Valve guide inside diameter
a
:
Intake and exhaust:
5.5005.512 mm
(0.21650.2170 in)
Valve stem-to-valve guide clearance
= valve guide inside diameter valve
stem diameter:
Intake and exhaust:
0.0250.052 mm
(0.00100.0020 in)
Valve guide remover/installer:
90890-06801

Table of Contents

Other manuals for Yamaha F50F

Related product manuals