EasyManua.ls Logo

Yamaha F50F - Page 84

Yamaha F50F
305 pages
Print Icon
To Next Page IconTo Next Page
To Next Page IconTo Next Page
To Previous Page IconTo Previous Page
To Previous Page IconTo Previous Page
Loading...
FUEL
Fuel system
4-15
6C13G11
4
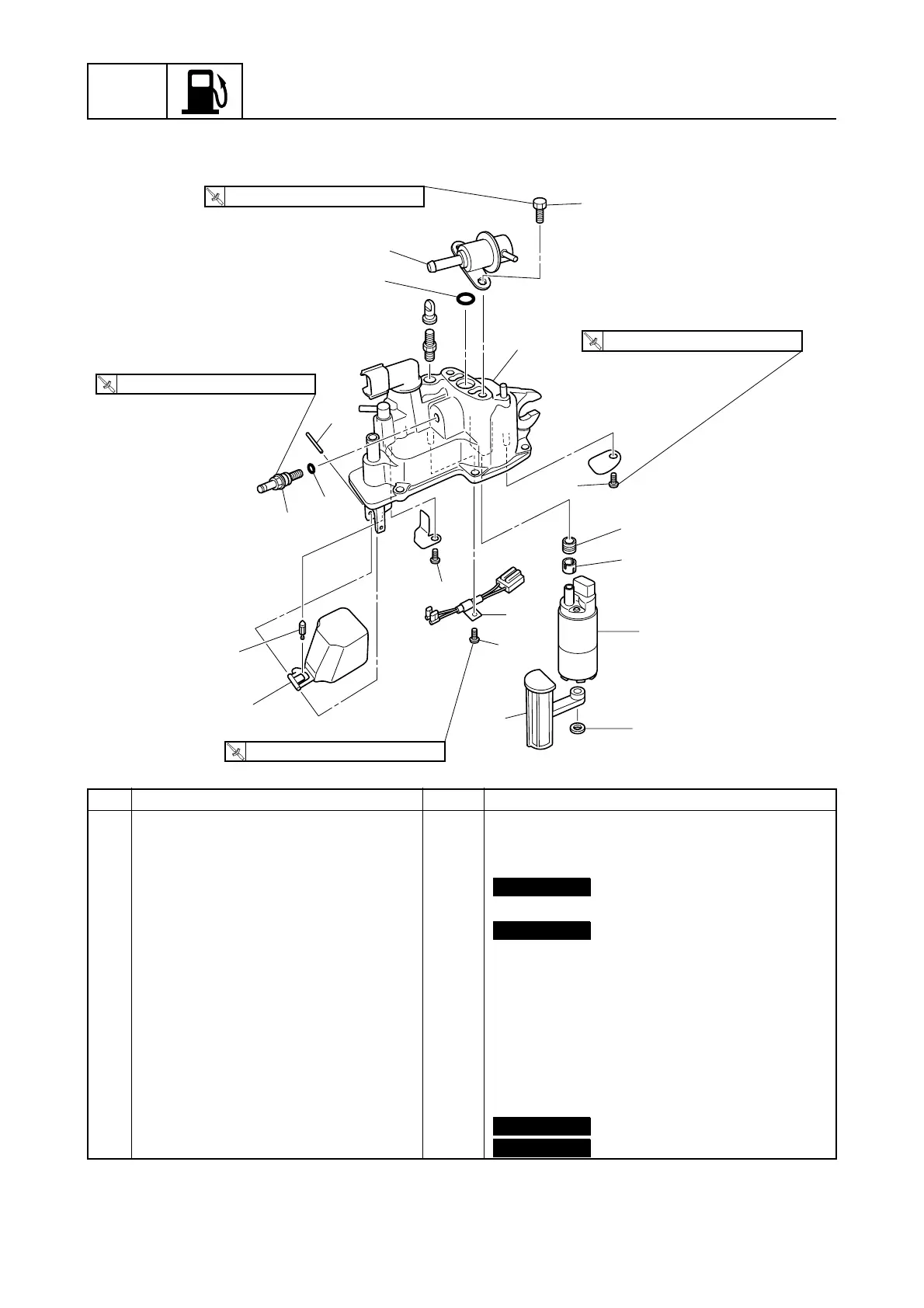
No. Part name Qty Remarks
1 Cover 1
2 Pressure regulator 1
3Bolt 2 M6
×
12 mm
4O-ring 1
Not reusable
5 Joint screw 1
6O-ring 1
Not reusable
7 Electric fuel pump 1
8Grommet 1
9 Collar 1
10 Filter 1
11 Screw 2 ø4
×
6 mm
12 Wiring harness 1
13 Float 1
14 Needle valve 1
15 Pin 1
Not reusable
16 Clip 1
Not reusable
S6C14360
3
1
7
9
8
2
4
6
15
11
11
11
10
13
14
12
5
T
R
.
.
2 N
·
m (0.2 kgf
·
m, 1.5 ft
·
Ib)
T
R
.
.
2 N
·
m (0.2 kgf
·
m, 1.5 ft
·
Ib)
T
R
.
.
4 N
·
m (0.4 kgf
·
m, 3.0 ft
·
Ib)
T
R
.
.
5 N
·
m (0.5 kgf
·
m, 3.7 ft
·
Ib)
16

Table of Contents

Other manuals for Yamaha F50F

Related product manuals