EasyManua.ls Logo

ZOE PPM3 - Page 34

ZOE PPM3
214 pages
Print Icon
To Next Page IconTo Next Page
To Next Page IconTo Next Page
To Previous Page IconTo Previous Page
To Previous Page IconTo Previous Page
Loading...
2-6 Nightingale PPM3 User's Guide April 2019
Getting Started
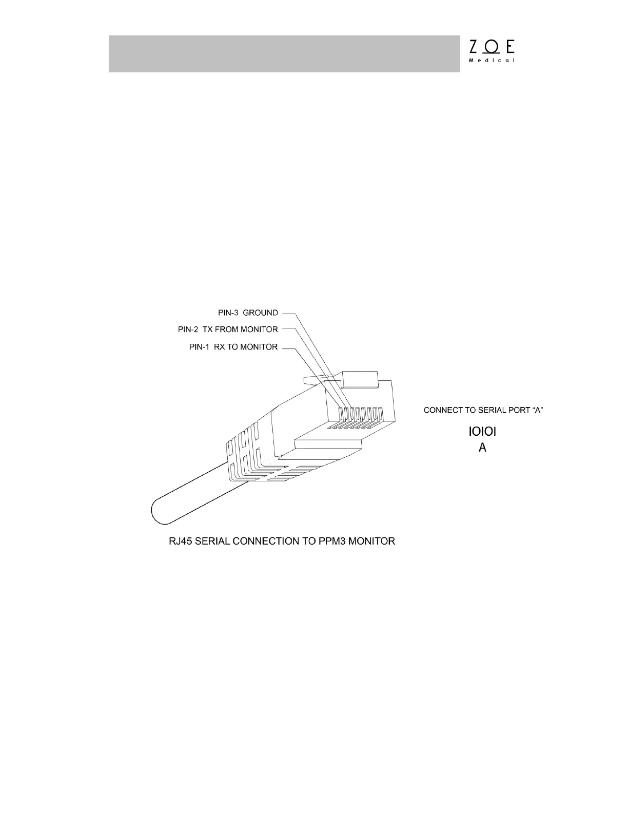
Connecting to an Electronic Medical Record (EMR) System
Connection to an EMR system requires a custom Network Cable from Zoe
Medical (Part Number 421-0052) or an equivalent cable configured as shown
below. One end of the cable has a DB-9 connector that interfaces to a standard PC
serial port. The other end of the cable connects to an RJ45 port on the right side
of the PPM3.
Note: To connect to PC’s that do not have built-in DB9 connectors, a third party
USB-to-serial cable of the type recommended by the EMR vendor may be used.

Table of Contents

Related product manuals