EasyManua.ls Logo

ABB ZX2 - Page 57

ABB ZX2
112 pages
Print Icon
To Next Page IconTo Next Page
To Next Page IconTo Next Page
To Previous Page IconTo Previous Page
To Previous Page IconTo Previous Page
Loading...
3. INSTALLATION OF THE SWITCHGEAR AT SITE 57
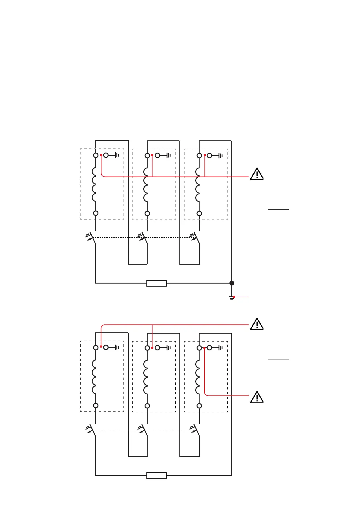
Grounding of open delta windings
If the open delta windings of the voltage trans-
formers are damped with a resistor, the windings
connected in an open delta are to be grounded at
one point. The circuit can be grounded
in the low voltage compartment
(fig. 3.3.7.6.3) or
on the terminal block of a voltage transformer
(fig. 3.3.7.6.4).
Perform measurements to ascertain which
grounding method applies to your system.
Fig.3.3.7.6.3:
Grounding of the
circuit in the low
voltage compartment
Fig.3.3.7.6.4:
Grounding the circuit
on the terminal board
of a transformer
-F

dn
da
-T15L3
dn
da
-T15L2
dn
da
-T15L1
-F

dn
da
-T15L3
dn
da
-T15L2
dn
da
-T15L1
Hazard warning
Do not ground here!
Without grounding
screw on terminal "dn"
Hazard warning
Do not ground here!
Without grounding
screw on terminal "dn"
Hazard warning
Ground here!
With grounding screw on
terminal "dn"
Grounding in the low voltage compartment
Fig. 3.3.7.9.3
Fig. 3.3.7.9.4

Table of Contents

Related product manuals