EasyManua.ls Logo

ABB ZX2 - Non-Interrupting Bus Transfer

ABB ZX2
112 pages
Print Icon
To Next Page IconTo Next Page
To Next Page IconTo Next Page
To Previous Page IconTo Previous Page
To Previous Page IconTo Previous Page
Loading...
74 ZX2 GAS-INSULATED MEDIUM VOLTAGE SWITCHGEAR
5.3. Non-interrupting bus transfer
A non-interrupting bus transfer is only possible
when the switchgear installation has a bus tie in
the related section. The interlocks must be de-
signed for the corresponding switching opera-
tions. A non-interrupting bus transfer is only pos-
sible with electrical operation of the switches, as
the three position switch and the disconnect in a
panel are mechanically interlocked.
Hazard warning
It must be ensured that the voltage levels
and phases of both busbars are
synchronous.
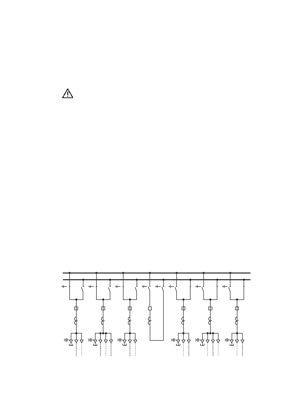
It is assumed in the following description that an
feeder panel (in this case =J01) is to be switched
over from busbar 1 (front) to busbar 2 (rear). For
details of switch operation, please consult the
following sections. The initial situation is shown
in fig. 5.3.1. Switchover from busbar 2 to busbar 1
is a similar procedure in reverse.
Close the bus tie (fig. 5.3.2)
Close the disconnect -QBD in the relevant
feeder (fig. 5.3.3).
Note to the backwards interlocking: As long as
both disconnects in one feeder are switched ON,
the tripping or manually opening of the bus tie
circuit breaker is blocked.
Open the disconnect -QZD in the relevant feeder
(fig. 5.3.4).
Open the bus tie (fig. 5.3.5).
Fig. 5.3.1:
Initial situation – out-
going feeder =J01 in
operation on busbar 1
=J01
BB1 (front)
BB2 (rear)

Table of Contents

Related product manuals