EasyManua.ls Logo

ABOV SEMICONDUCTOR MC81F4204 - Page 59

Default Icon
155 pages
Print Icon
To Next Page IconTo Next Page
To Next Page IconTo Next Page
To Previous Page IconTo Previous Page
To Previous Page IconTo Previous Page
Loading...
MC81F4204
April 24, 2012 Ver.1.41 59
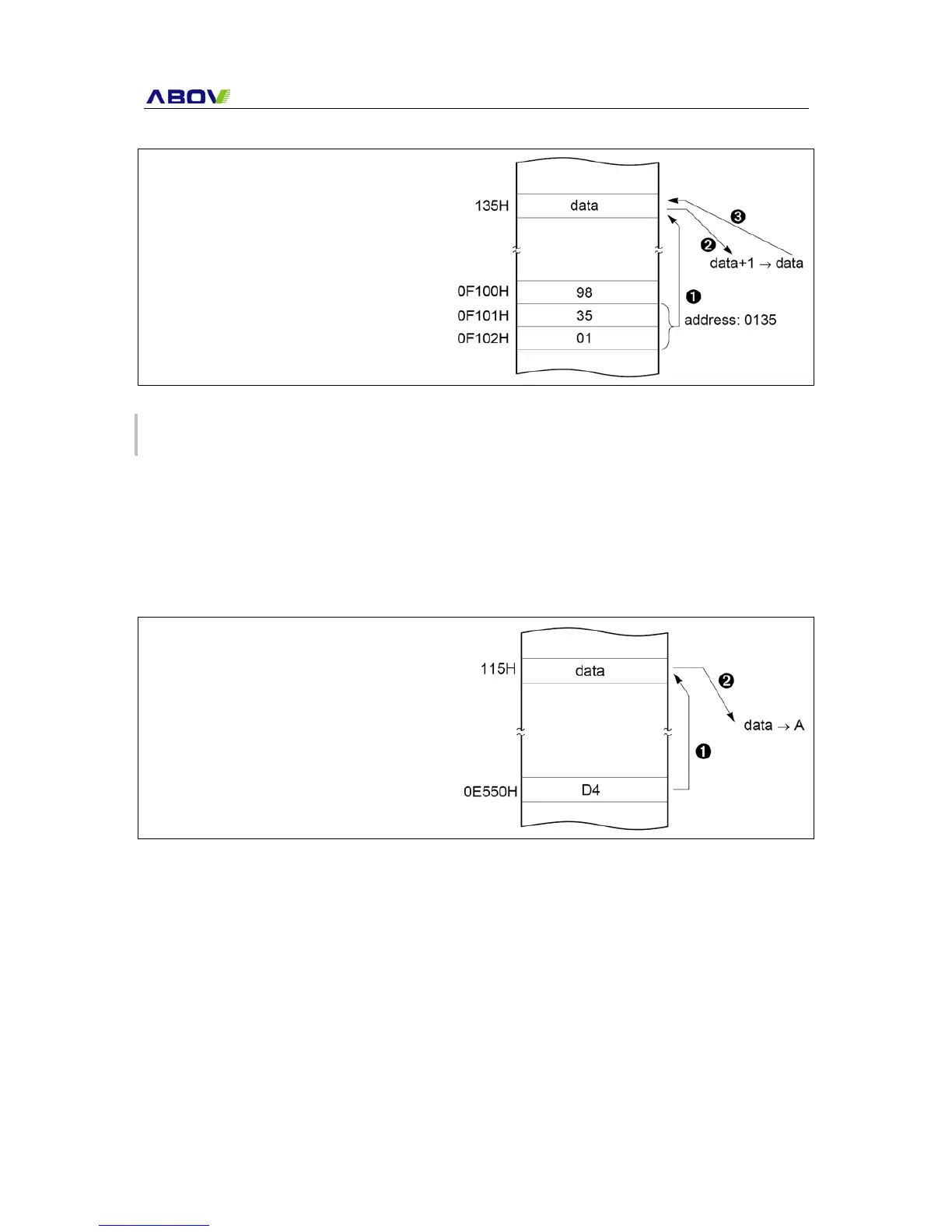
Example : Addressing accesses the address 0135
H regardless of G-flag.
:;WhenG=0
INC!0135h;increaseROM[135h]
:;opcodeis98h
:
Indexed Addressing
X indexed direct page (no offset) {X}
In this mode, an address is specified by the X register.
ADC, AND, CMP, EOR, LDA, OR, SBC, STA, XMA
Example :
:;WhenG=1,X=15h
LDA{X};A=ROM[(RPR<<8)+X]
:;opcodeis0D4h
:
X indexed direct page, auto increment{X}+
In this mode, a address is specified within direct page by the X register and the content of X is
increased by 1.
LDA, STA

Table of Contents