EasyManua.ls Logo

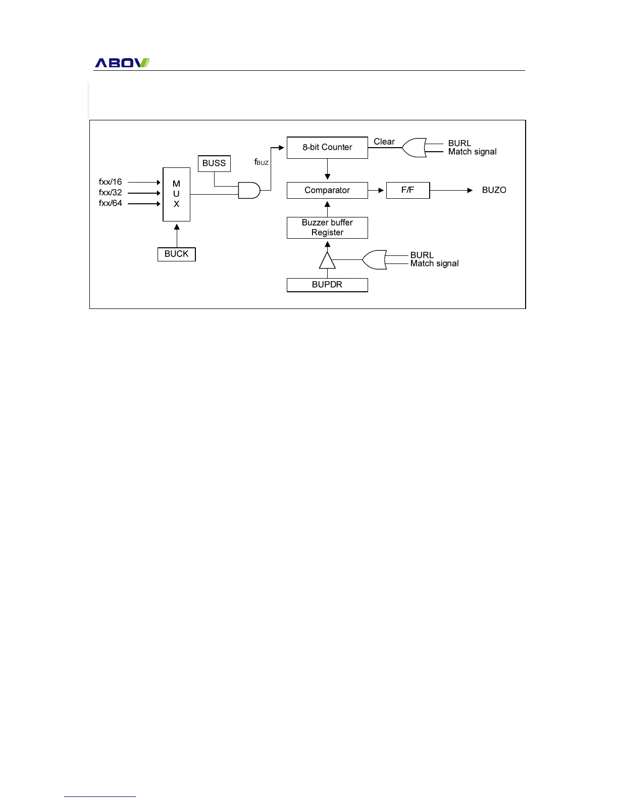
ABOV SEMICONDUCTOR MC81F4204 - 19. Buzzer; Figure 19-1 Buzzer Driver Block Diagram

Default Icon
155 pages
Print Icon
To Next Page IconTo Next Page
To Next Page IconTo Next Page
To Previous Page IconTo Previous Page
To Previous Page IconTo Previous Page
Loading...
MC81F4204
April 24, 2012 Ver.1.41 111
19. BUZZER
The buzzer driver consists of 8-bit binary counter, the buzzer period data register BUPDR, and the
buzzer driver register BUZR, the clock selector. It generates square-wave which is very wide range
frequency (244 Hz ~ 250 KHz at f
xx = 8MHz) by user programmable counter.
Pin R12/BUZO is assigned for output port of Buzzer driver by setting the bits R12 of R1 Control
Middle Register (R0CONM) to “101”.
The 8-bit buzzer counter is cleared and start the counting by writing signal to the register BUZR. It is
increased from 00
H until it matches with BUPDR[7:0].
Also, it is cleared by counter overflow and count up to output the square wave pulse of duty 50%.
The bit 0 to 7 of BUPDR determines output frequency for buzzer driving. BUPDR is initialized to FFH
after reset.
Frequency calculation is following as shown below.
Figure 19-1 Buzzer Driver Block Diagram

Table of Contents