EasyManua.ls Logo

ABOV SEMICONDUCTOR MC81F4204 - Page 63

Default Icon
155 pages
Print Icon
To Next Page IconTo Next Page
To Next Page IconTo Next Page
To Previous Page IconTo Previous Page
To Previous Page IconTo Previous Page
Loading...
MC81F4204
April 24, 2012 Ver.1.41 63
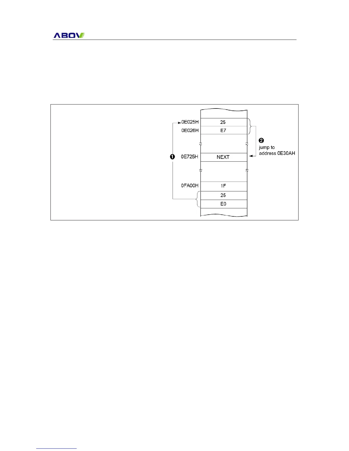
Absolute indirect [!abs]
The program jumps to address specified by 16-bit absolute address.
JMP
Example :
:;whenG=0
JMP[0E025h];opcodeis1Fh
:

Table of Contents