EasyManua.ls Logo

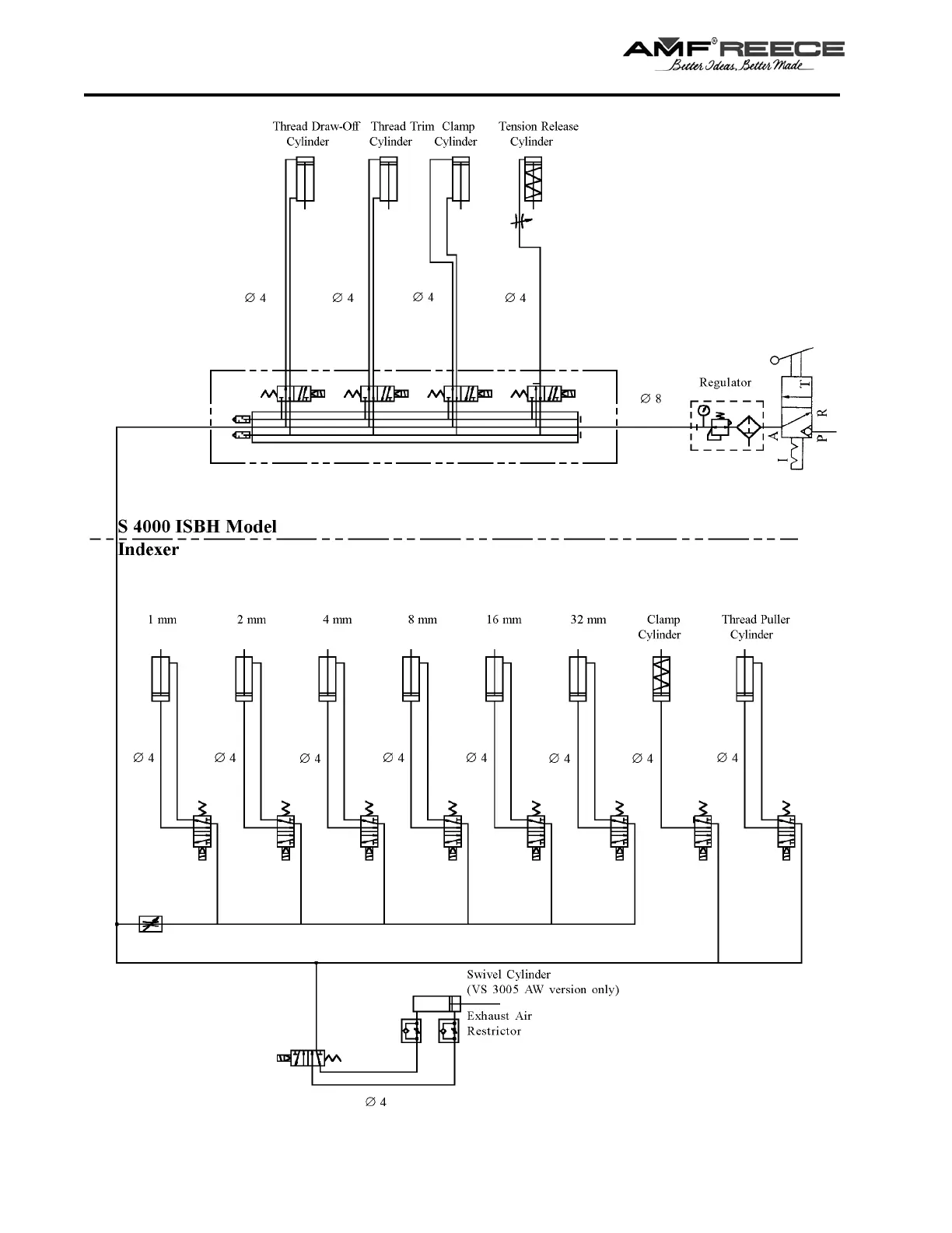
AMF S-4000 - PNEUMATIC DIAGRAM ISBH WITH INDEXER

Default Icon
122 pages
Print Icon
To Next Page IconTo Next Page
To Next Page IconTo Next Page
To Previous Page IconTo Previous Page
To Previous Page IconTo Previous Page
Loading...
1-84
S-4000
Revised 01/2005
e-mail: service@amfreece.cz; parts@amfreece.cz; website: www.amfreece.com
Phones: +420 582 309 146 (Service), +420 582 309 286 (Spare Parts); Fax: +420 582 360 606
PNEUMATIC DIAGRAM ISBH WITH INDEXER