EasyManua.ls Logo

Case CX60C - Every 1000 Hours; Hydraulic Oil Return Filter

Case CX60C
320 pages
Print Icon
To Next Page IconTo Next Page
To Next Page IconTo Next Page
To Previous Page IconTo Previous Page
To Previous Page IconTo Previous Page
Loading...
6-MAINTENANCE
Every1000hours
Hydraulicoilreturnlter
WARNING
Burnhazard!
Beforeperforminganyserviceonthehydraulicsystem,youmustallowittocool.Hydraulicuid
temperatureshouldnotexceed40°C(104°F).
Failuretocomplycouldresultindeathorseriousinjury.
W0241A
WARNING
Pressurizedsystem!
Neverattempttodrainuidsorremovelterswhentheengineisrunning.Turnofftheengineand
relieveallpressurefrompressurizedsystemsbeforeservicingthemachine.
Failuretocomplycouldresultindeathorseriousinjury.
W0905A
Replacethehydraulicoilreturnlterevery1000h(After250hofoperationinrun-inperiod).
NOTICE:whenthemachineisanewvehicle,orwhenthemaincomponentsofthehydraulicsystemarealready
overhauledorreplaced,replacetheoilreturnlterafter250hofoperation.Afterthat,replacethelteratspecied
intervals.
1.Releaseallthepressureinthehydraulictank.Referto
page6-12.
2.Cleanthetopofthehydraulicoiltank,andcleanthe
coverofthereturnlter.
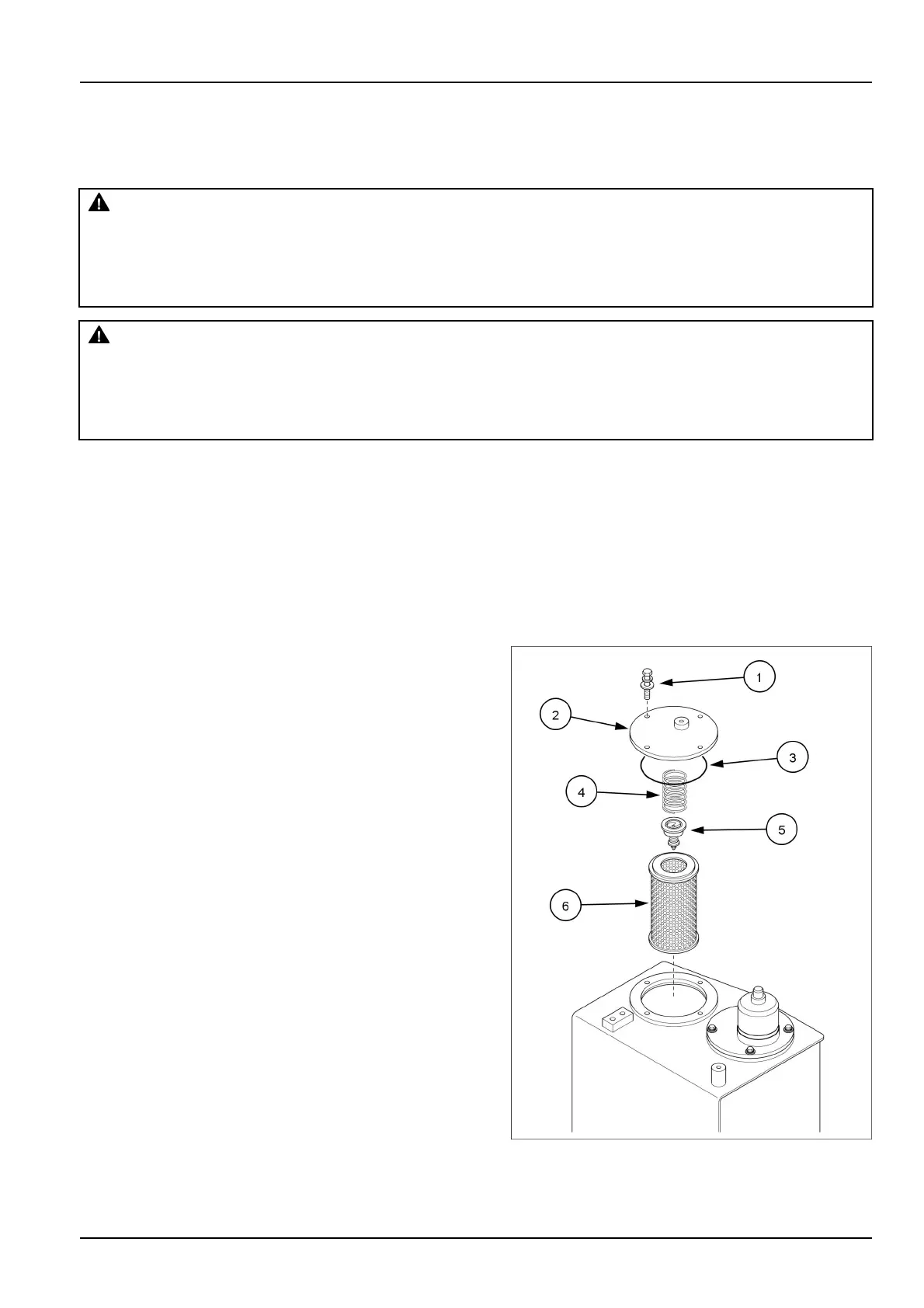
3.Removethebolts(1),thecover(2)andtheO-ring(3).
4.T akeoutthespring(4),theby-passvalve(5),andthe
returnlter(6).
5.Installanewlter(6).
6.Cleanandinstallthespring(4)andtheby-passvalve
(5).ChecktheO-ring(3),andreplaceitifanywearor
damageisfound.
7.Installthecover(2)andlockwiththebolts(1).
Tightenthebolts(1)to54.281.3N·m(4060lbft).
8.Checkthehydraulicuidlevel,andsupplyitifneces-
sary.
SMIL16MEX1395BA1
6-55

Table of Contents

Related product manuals