EasyManua.ls Logo

Corghi A 222 - GENERAL ELECTRIC LAYOUT DIAGRAMS

Corghi A 222
Print Icon
To Next Page IconTo Next Page
To Next Page IconTo Next Page
To Previous Page IconTo Previous Page
To Previous Page IconTo Previous Page
Loading...
116 Operator’s manual A 222
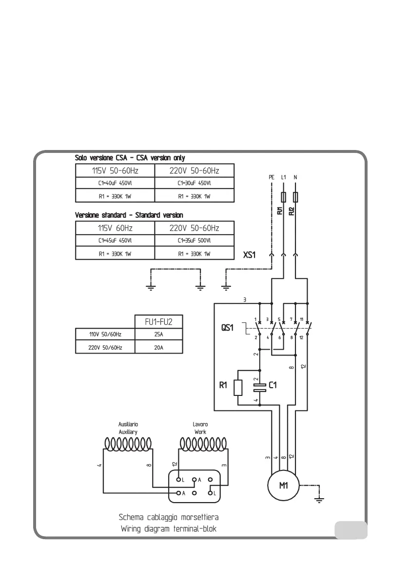
15. GENERAL ELECTRIC LAYOUT DIAGRAMS
1Ph Tyre changer (Fig. 51)
XS1 Power supply socket
QS1 Inverter
M1 Motor
R1 Resistor
C1 Capacitor
51

Table of Contents