EasyManua.ls Logo

Corghi A 222 - 14 Allgemeiner Schaltplan

Corghi A 222
Print Icon
To Next Page IconTo Next Page
To Next Page IconTo Next Page
To Previous Page IconTo Previous Page
To Previous Page IconTo Previous Page
Loading...
240 Betriebs- und Wartungsanleitung A 222
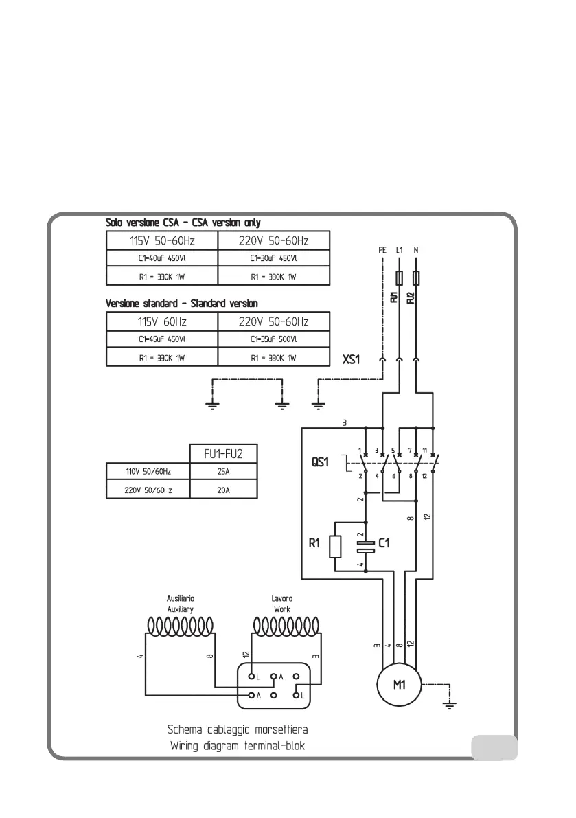
14. ALLGEMEINER SCHALTPLAN
Einphasige Reifenmontiermaschine (Abb. 51)
XS1 Steckdose
QS1 Inverter
M1 Motor
R1 Widerstand
C1 Kondensator
51

Table of Contents