EasyManua.ls Logo

Corghi A 222 - 14 Schéma Dinterconnexion Électrique, Général

Corghi A 222
Print Icon
To Next Page IconTo Next Page
To Next Page IconTo Next Page
To Previous Page IconTo Previous Page
To Previous Page IconTo Previous Page
Loading...
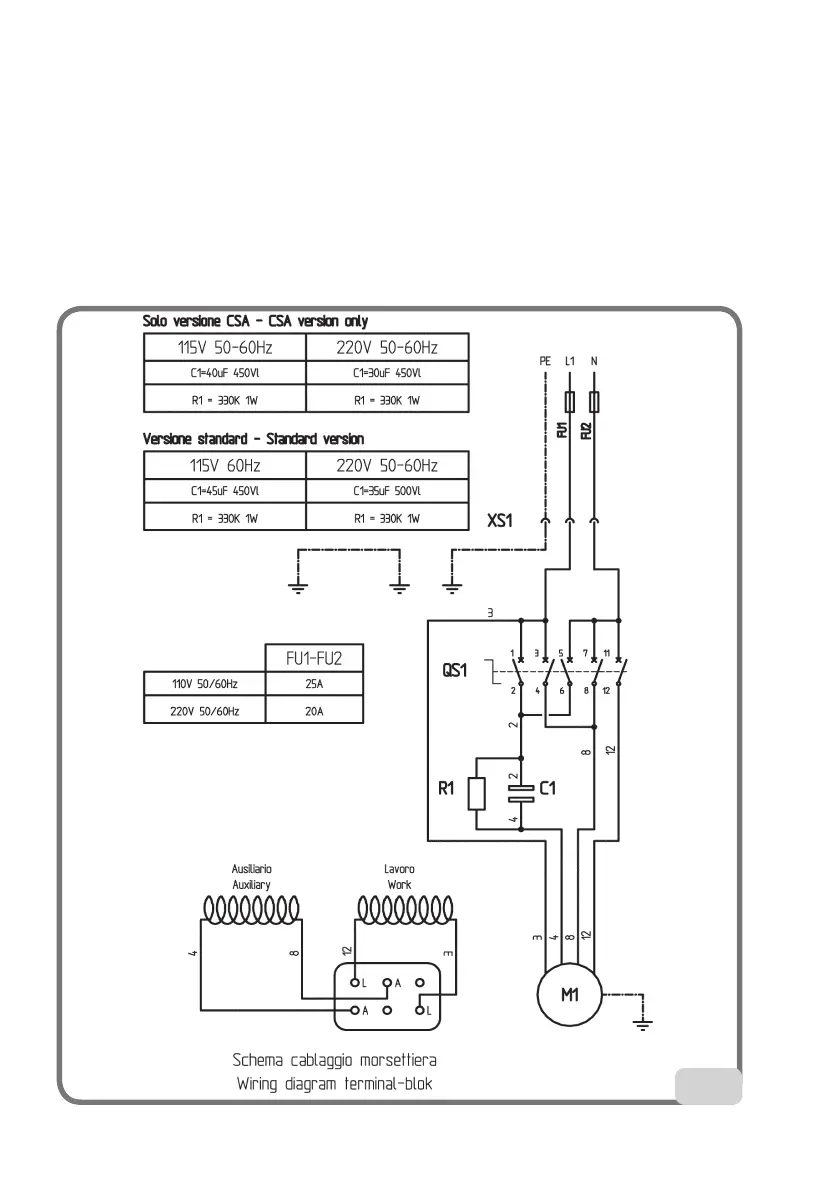
178 Utilisation et entretien A 222
14.
SCHÉMA D’INTERCONNEXION
ÉLECTRIQUE, GÉNÉRAL
Démonte-pneu à 1 phase (Fig.51)
XS1 Prise d’alimentation
QS1 Inverseur
M1 Moteur
R1 Résistance
C1 Condensateur
51

Table of Contents