EasyManua.ls Logo

Corghi A 222 - 14 Schema Elettrico Generale

Corghi A 222
Print Icon
To Next Page IconTo Next Page
To Next Page IconTo Next Page
To Previous Page IconTo Previous Page
To Previous Page IconTo Previous Page
Loading...
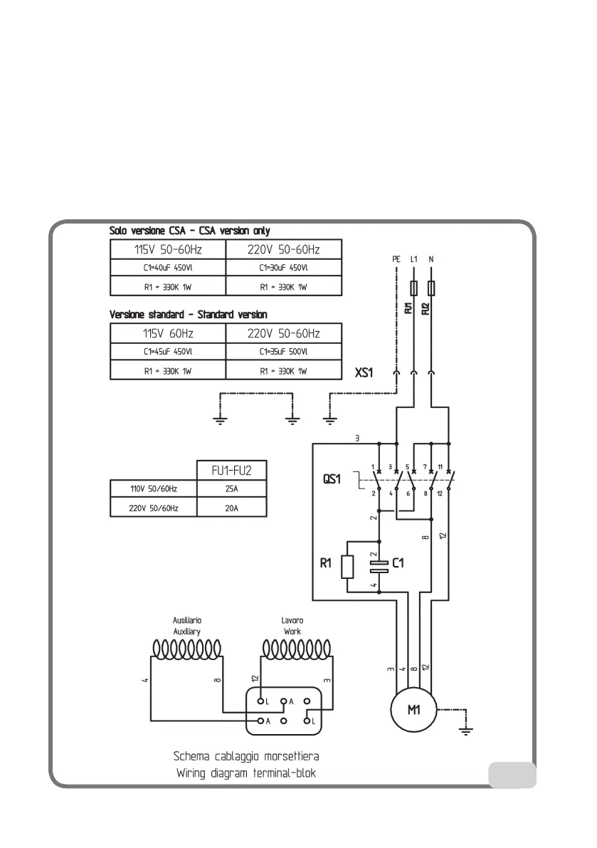
54 Manuale d’uso A 222
14. SCHEMA ELETTRICO GENERALE
Smontagomme monofase (Fig. 51)
XS1 Presa di alimentazione
QS1 Invertitore
M1 Motore
R1 Resistenza
C1 Condensatore
51

Table of Contents