EasyManua.ls Logo

Corghi A 222 - Page 55

Corghi A 222
Print Icon
To Next Page IconTo Next Page
To Next Page IconTo Next Page
To Previous Page IconTo Previous Page
To Previous Page IconTo Previous Page
Loading...
Manuale d’uso A 222 55
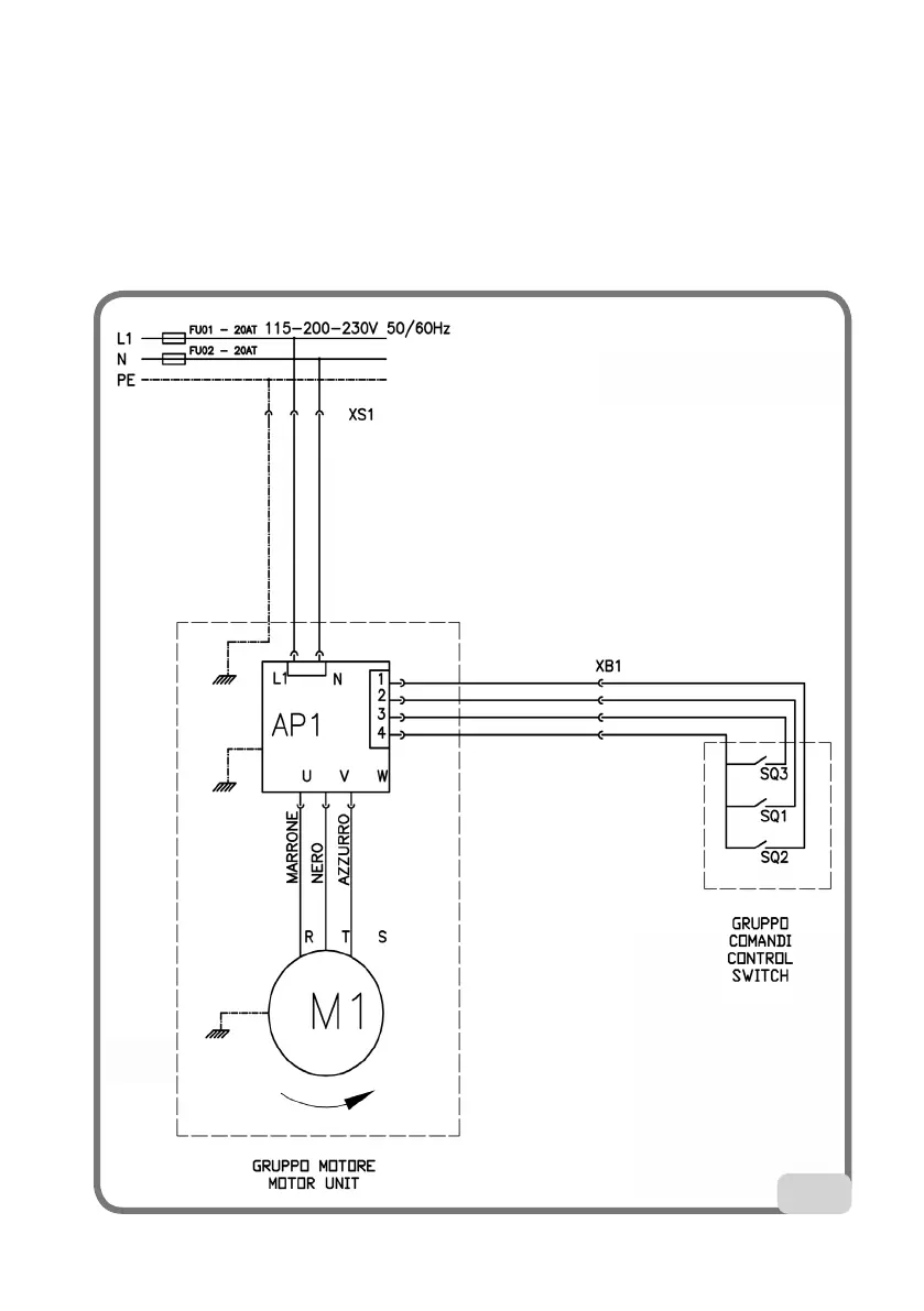
Smontagomme 100-115-200-230V DV (Fig. 52)
XS1 Presa di alimentazione
AP1 Scheda motore singola / doppia
M1 Motore
SQ1 Microinterruttore doppia velocità
SQ2 Microinterruttore (rotazione in SENSO ANTIORARIO)
SQ3 Microinterruttore (rotazione in SENSO ANTIORARIO)
52

Table of Contents

Related product manuals