EasyManua.ls Logo

Corghi A 222 - 14 Esquema General de la Instalación Eléctrica

Corghi A 222
Print Icon
To Next Page IconTo Next Page
To Next Page IconTo Next Page
To Previous Page IconTo Previous Page
To Previous Page IconTo Previous Page
Loading...
302 Uso y mantenimiento A 222
14. ESQUEMA GENERAL DE LA INSTALACIÓN
ELÉCTRICA
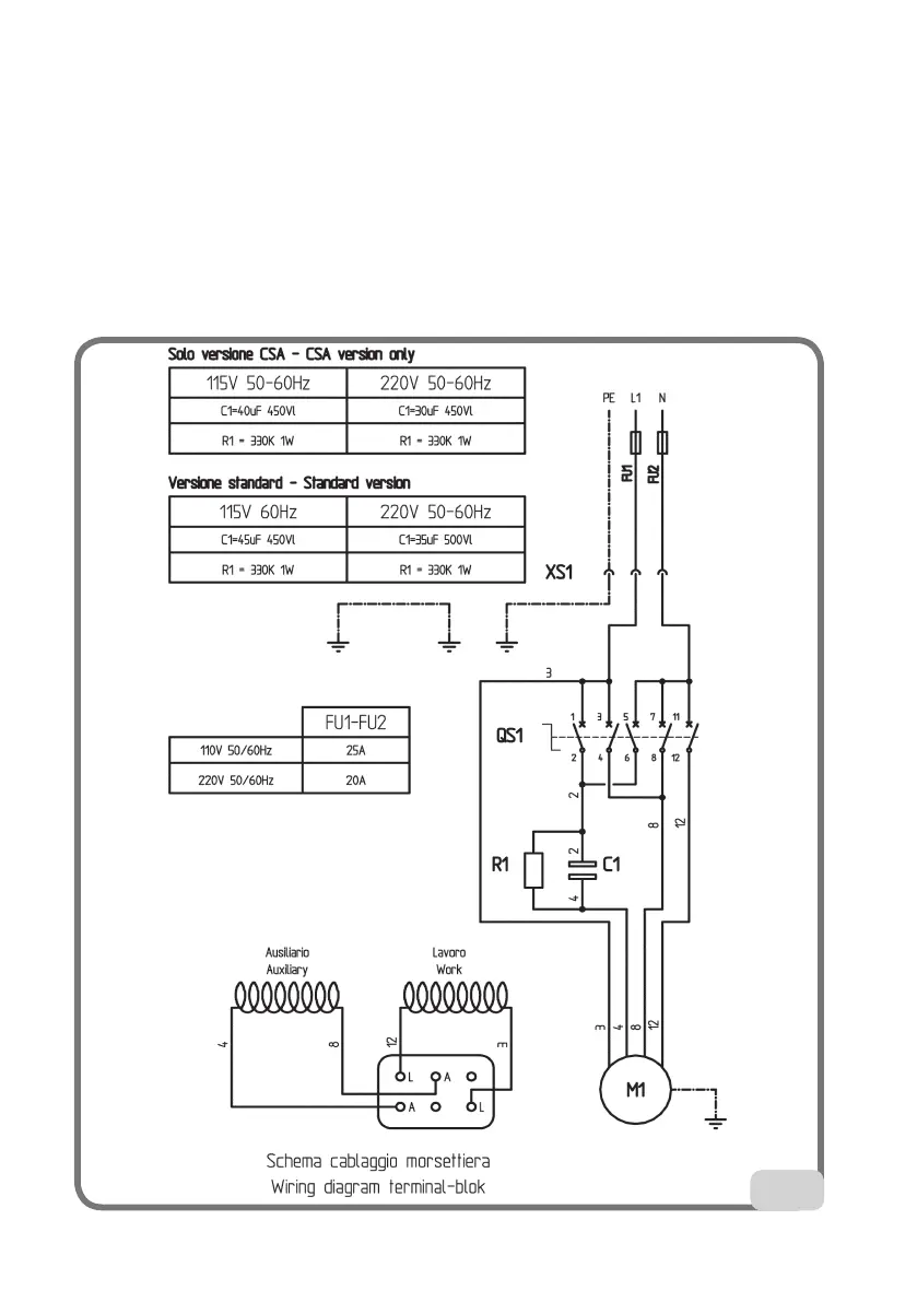
Desmontadora de neumáticos monofásica (Fig. 51)
XS1 Toma de alimentación
QS1 Inversor
M1 Motor
R1 Resistencia
C1 Condensador
51

Table of Contents