EasyManua.ls Logo

Corghi A 222 - Page 241

Corghi A 222
Print Icon
To Next Page IconTo Next Page
To Next Page IconTo Next Page
To Previous Page IconTo Previous Page
To Previous Page IconTo Previous Page
Loading...
Betriebs und Wartungsanleitung A 222 241
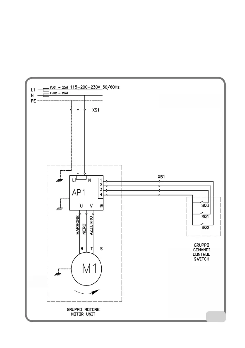
Reifenmontiermaschine 100-115-200-230V DV (Abb. 52)
XS1 Steckdose
AP1 Motor mit einfachem / doppeltem Drehzahlbereich
M1 Motor
SQ1 2-stufiger Mikroschalter
SQ2 Mikroschalter (Drehung im UHRZEIGERSINN)
SQ3 Mikroschalter (Drehung GEGEN DEN UHRZEIGERSINN)
52

Table of Contents