EasyManua.ls Logo

Daher TBM 930 - Page 712

Daher TBM 930
877 pages
Print Icon
To Next Page IconTo Next Page
To Next Page IconTo Next Page
To Previous Page IconTo Previous Page
To Previous Page IconTo Previous Page
Loading...
Pilot's Operating Handbook
Section 8
Handling, servicing and maintenance
Edition 1 - January 15, 2018
Rev. 4
Page 8.9.14
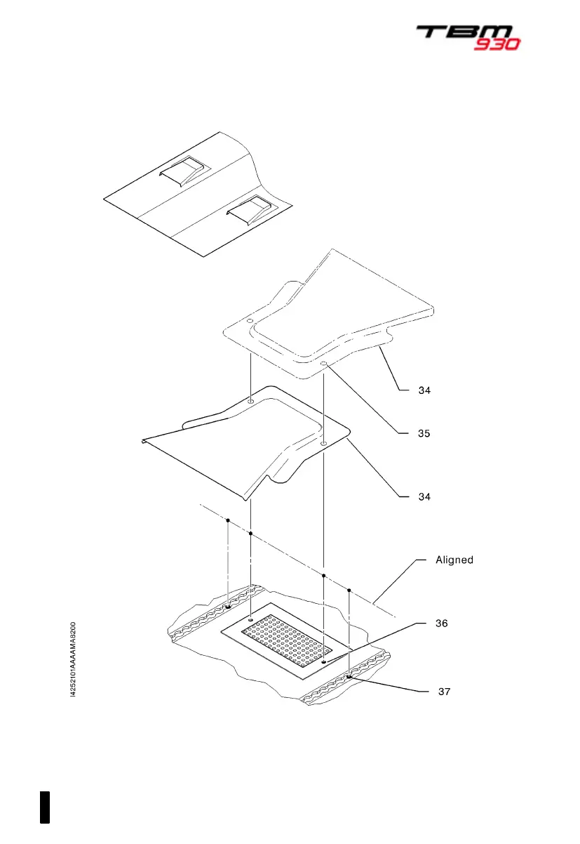
Figure 8.9.4 - Cabin comfort - Installation of deflector
34)
Deflector
35) Deflector hole
36) Red mark
37) Color mark
PIM - DO NOT USE FOR FLIGHT OPERATIONS

Table of Contents