EasyManua.ls Logo

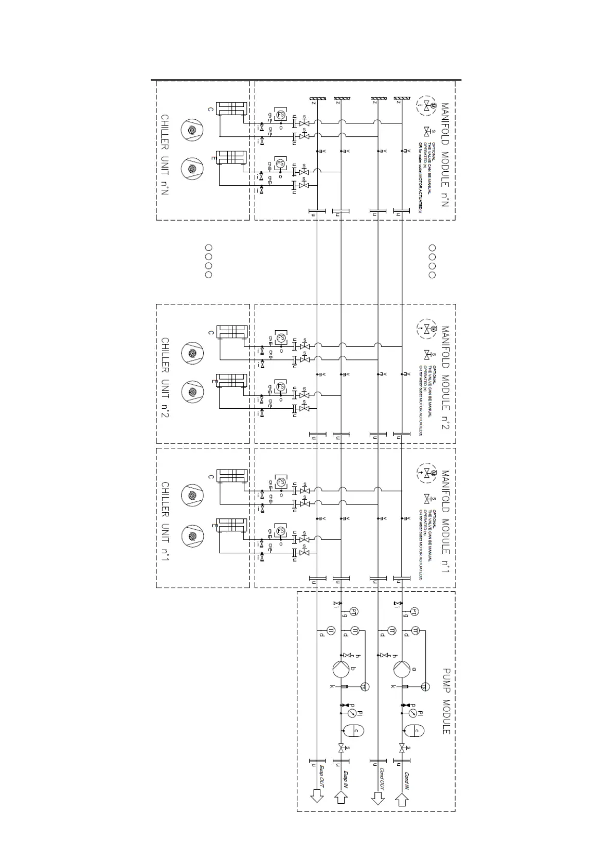
Daikin EWWT100Q - Fig. 5 Connection of more Unit-Manifold Systems Together and with Pump Module

Daikin EWWT100Q
72 pages
Print Icon
To Next Page IconTo Next Page
To Next Page IconTo Next Page
To Previous Page IconTo Previous Page
To Previous Page IconTo Previous Page
Loading...
D-EIMHP01702-23_00EN- 11/72
Fig. 5 Connection of more unit-manifold systems together and with pump module
The input and output of the water of the condenser and the evaporator are approximate. Consult the dimensional drawings of the
unit for the exact hydraulic connections.

Table of Contents

Related product manuals