EasyManua.ls Logo

Dynojet Dynoware RT - Page 59

Dynojet Dynoware RT
88 pages
Print Icon
To Next Page IconTo Next Page
To Next Page IconTo Next Page
To Previous Page IconTo Previous Page
To Previous Page IconTo Previous Page
Loading...
3-25
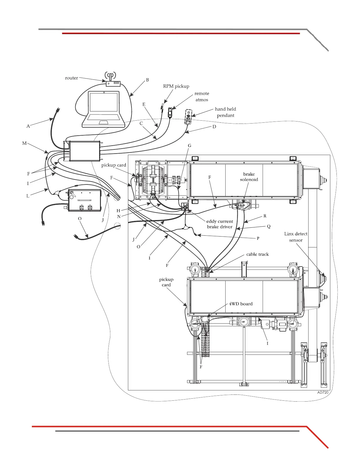
MODEL 424 DYNOWARE RT UPGRADE WITH EDDY CURRENT BRAKE
Cable Routing
Version 5 DynoWare RT Upgrade for Model 424x Dynamometers Installation Guide
Figure 3-20: Routing the Cables—One Eddy Current Brake

Table of Contents

Related product manuals