EasyManua.ls Logo

EIP 545A - Page 159

EIP 545A
221 pages
Print Icon
To Next Page IconTo Next Page
To Next Page IconTo Next Page
To Previous Page IconTo Previous Page
To Previous Page IconTo Previous Page
Loading...
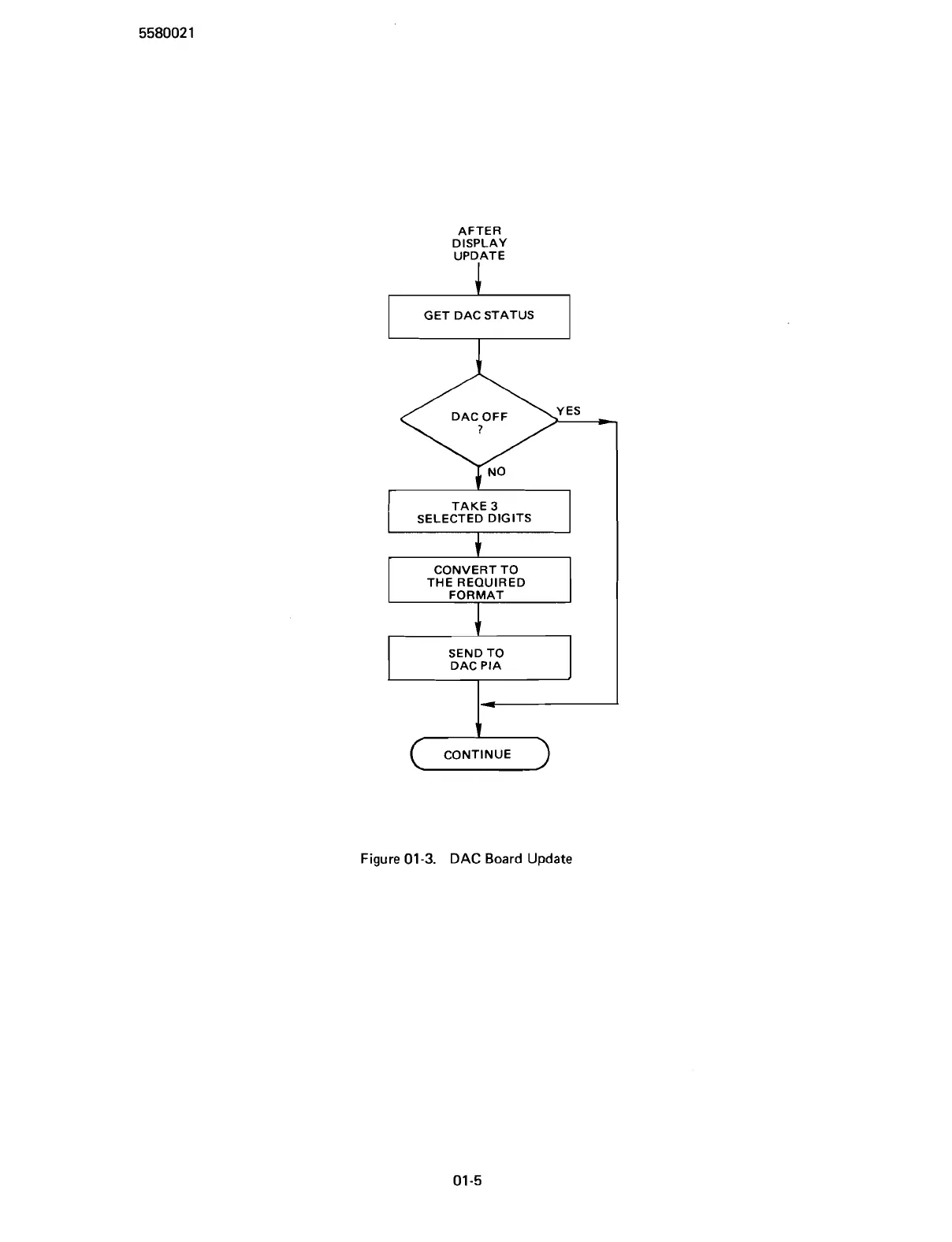
AFTER
DISPLAY
,,PE
I
GET DAC STATUS
I
TAKE
3
I
SELECTED DIGITS
I
THE REQUIRED
SEND TO
DAC PIA
CONTINUE
c5
Figure 01-3.
DAC
Board Update
Scans by ArtekMedia © 2007

Table of Contents