EasyManua.ls Logo

EIP 545A - Page 184

EIP 545A
221 pages
Print Icon
To Next Page IconTo Next Page
To Next Page IconTo Next Page
To Previous Page IconTo Previous Page
To Previous Page IconTo Previous Page
Loading...
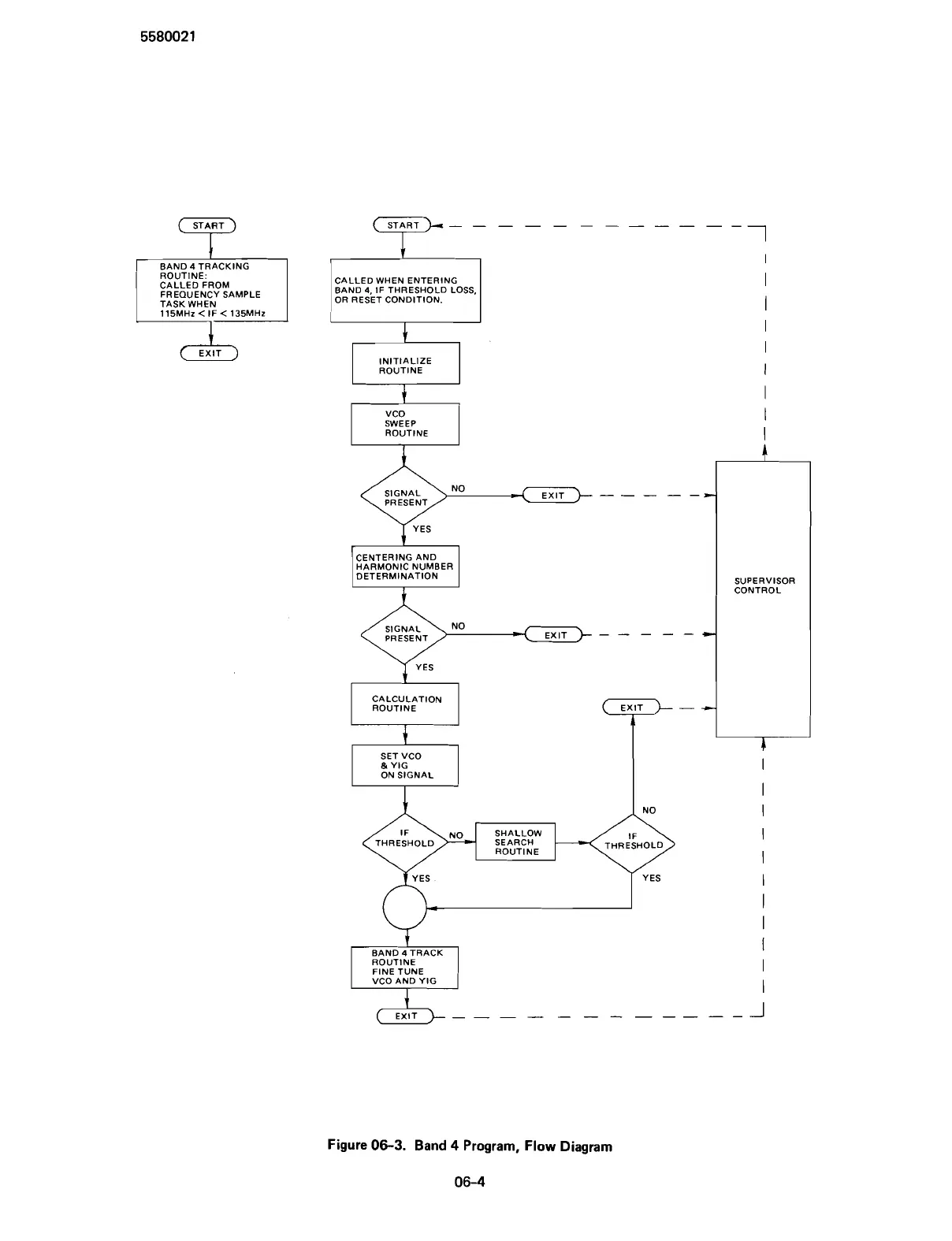
START
'r'
BAND
4
TRACKING
ROUTINE:
CALLED FROM
FREQUENCY SAMPLE
TASK WHEN
115MHz
<
IF
<
135MHz
1
CALLED WHEN ENTERING
BAND
4,
IF THRESHOLD LOSS,
OR RESET CONDITION.
I
I
I
I
I
I
C
-----
SUPERVISOR
CONTROL
---A-
-
4
I
I
I
I
I
I
I
I
I
ROUTINE
FINE TUNE
VCO AND YIG
I
I
Figure
063.
Band 4 Program, Flow Diagram
06-4
Scans by ArtekMedia © 2007

Table of Contents