EasyManua.ls Logo

EIP 545A - Page 38

EIP 545A
221 pages
Print Icon
To Next Page IconTo Next Page
To Next Page IconTo Next Page
To Previous Page IconTo Previous Page
To Previous Page IconTo Previous Page
Loading...
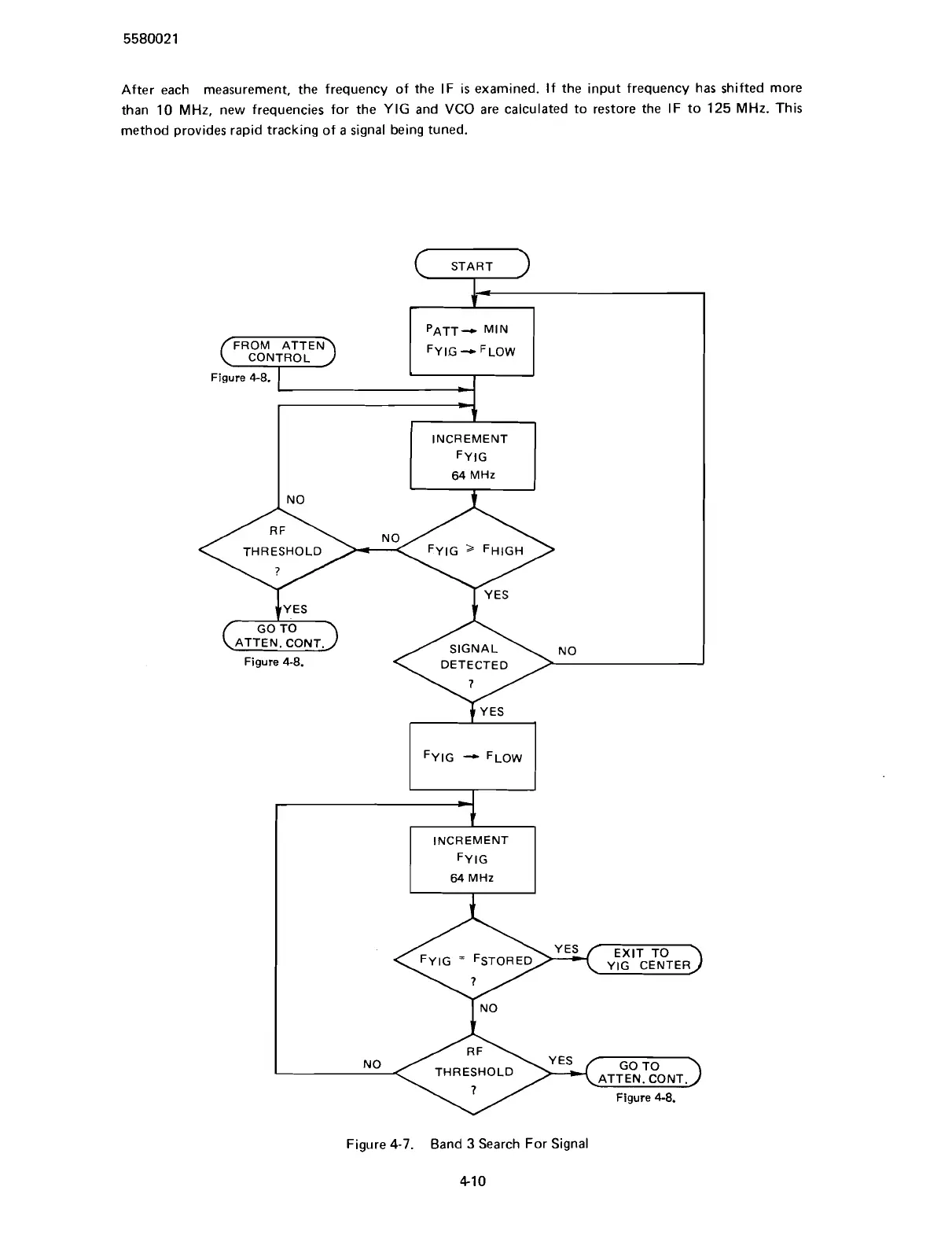
After each
measurement, the frequency of the IF is examined. If the input frequency has shifted more
than
10
MHz, new frequencies for the YIG and
VCO
are calculated to restore the IF to
125
MHz. This
method provides rapid tracking of a signal being tuned.
PATT- MIN
CONTROL
INCREMENT
FYIG
64 MHz
THRESHOLD
FYIG FHIGH
SIGNAL
Figure 4-8. DETECTED
INCREMENT
FY IG
64 MHz
/
Figure 4-8.
Figure
4-7.
Band
3
Search For Signal
Scans by ArtekMedia © 2007

Table of Contents