EasyManua.ls Logo

EIP 545A - Page 41

EIP 545A
221 pages
Print Icon
To Next Page IconTo Next Page
To Next Page IconTo Next Page
To Previous Page IconTo Previous Page
To Previous Page IconTo Previous Page
Loading...
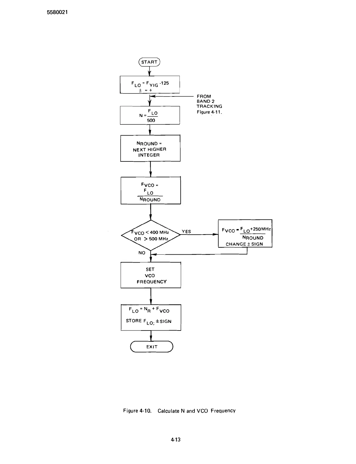
START
CS
I
f
=+
W
FROM
4
BAND 2
TRACKING
Figure
4-1
1.
N
=-
NROUND
=
NEXT HIGHER
INTEGER
FREQUENCY
LJ
-
I
STORE FLO; *SIGN
1
F~CO
-
FL0+250MHz
NROUND
CHANGE
f
SIGN
Figure 4-10.
Calculate
N
and VCO Frequency
I
Scans by ArtekMedia © 2007

Table of Contents