EasyManua.ls Logo

EIP 545A - Page 60

EIP 545A
221 pages
Print Icon
To Next Page IconTo Next Page
To Next Page IconTo Next Page
To Previous Page IconTo Previous Page
To Previous Page IconTo Previous Page
Loading...
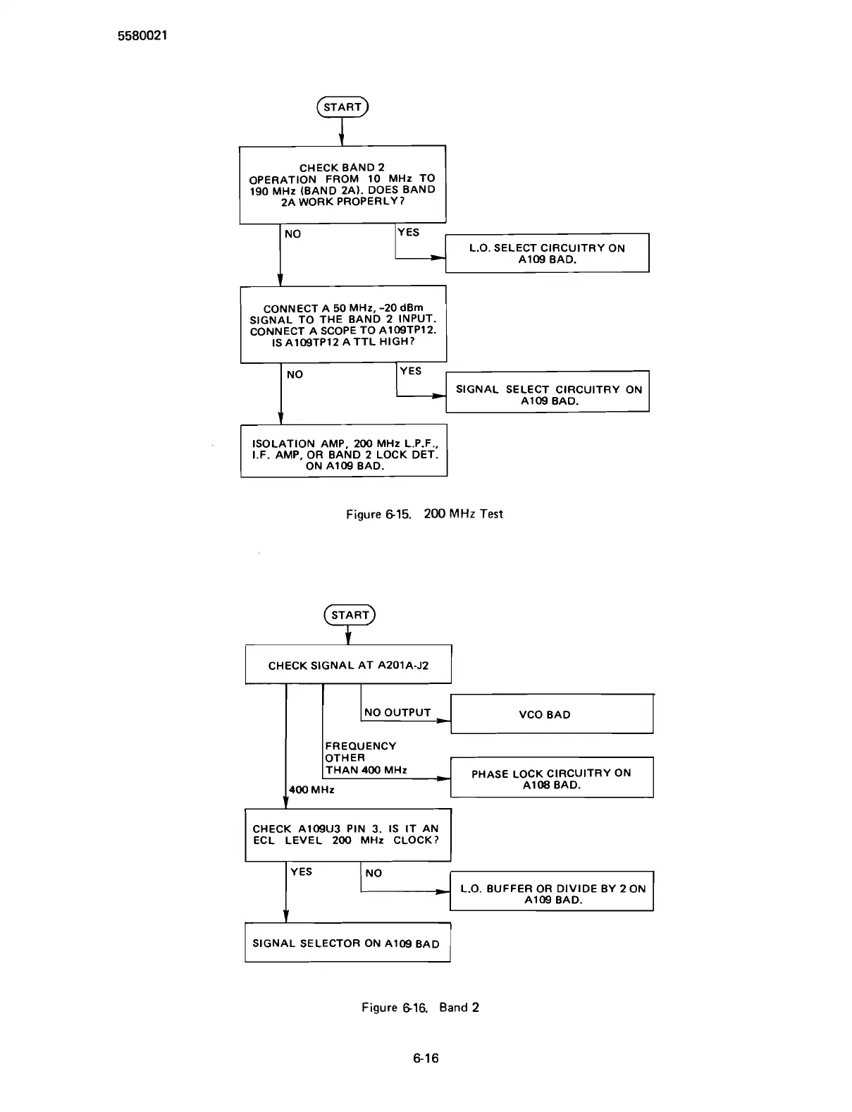
CHECK BAND 2
OPERATION FROM 10
MHz TO
190 MHz (BAND 2A). DOES BAND
2A WORK PROPERLY?
1
4
L.O. SELECT CIRCUITRY ON
A109 BAD.
CONNECT A 50 MHz, -20
dBm
SIGNAL TO THE BAND 2 INPUT.
CONNECT A SCOPE TO
Al09TP12.
IS A109TP12 A TTL HIGH?
SIGNAL SELECT CIRCUITRY ON
A109 BAD.
ISOLATION AMP,
200 MHz L.P.F.,
I.F. AMP, OR BAND 2 LOCK DET.
Figure
615.
200
MHz
Test
CHECK SIGNAL AT A201A-J2
I
II
CHECK A109U3 PIN 3. IS IT AN
ECL LEVEL
200 MHz CLOCK?
NO OUTPUT
OTHER
I
I
YES
L.O. BUFFER OR DIVIDE BY 2 ON
A109 BAD.
i
VCO BAD
THAN
400 MHz
-
7
400 MHz
SIGNAL SELECTOR
ON A109 BAD
FREQUENCY
PHASE LOCK CIRCUITRY ON
A108 BAD.
Figure
616. Band
2
Scans by ArtekMedia © 2007

Table of Contents