EasyManua.ls Logo

EIP 545A - Page 65

EIP 545A
221 pages
Print Icon
To Next Page IconTo Next Page
To Next Page IconTo Next Page
To Previous Page IconTo Previous Page
To Previous Page IconTo Previous Page
Loading...
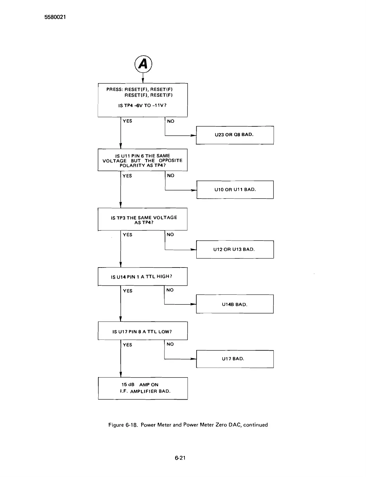
PRESS: RESET(F1, RESET(F)
RESET(F), RESET(F)
U23
OR
08
BAD.
IS Ull PIN
6
THE SAME
VOLTAGE BUT THE OPPOSITE
POLARITY AS TP47
U10 OR U11 BAD.
I
IS TP3 THE SAME VOLTAGE
AS TP47
I
I
YES NO
U12 OR U13 BAD.
IS U14 PIN 1 A TTL HIGH7
I
U14B BAD.
B
IS U17 PIN
8
A TTL LOW7
Figure 6-18. Power Meter and Power Meter Zero
DAC,
continued
\
YES
U17 BAD.
15 dB AMP ON
0
I.F. AMPLIFIER BAD.
Scans by ArtekMedia © 2007

Table of Contents