EasyManua.ls Logo

Elcon HiD 2000 Series - Hid 2031;2032

Default Icon
129 pages
Print Icon
To Next Page IconTo Next Page
To Next Page IconTo Next Page
To Previous Page IconTo Previous Page
To Previous Page IconTo Previous Page
Loading...
5-9
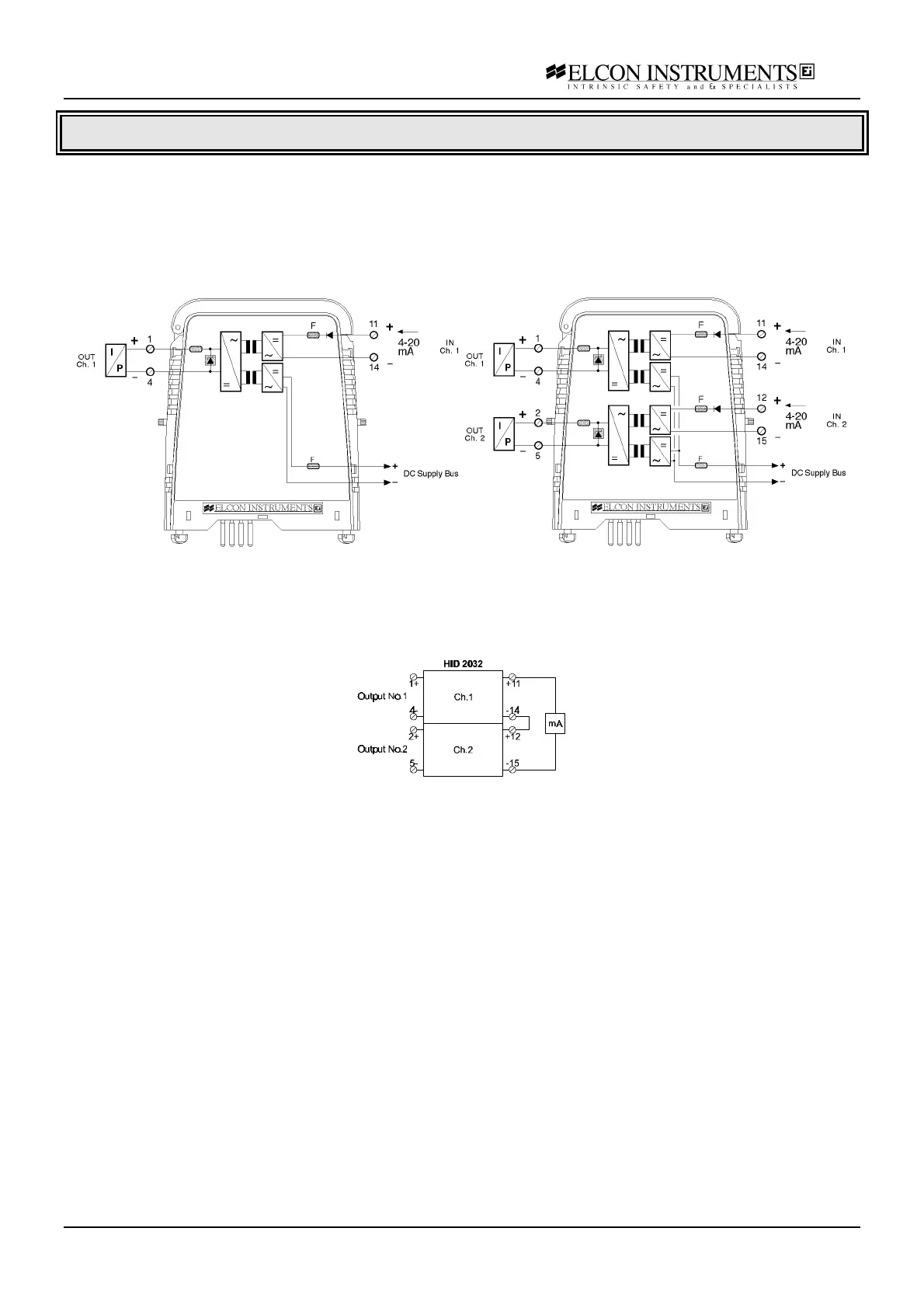
5.5 HiD 2031/2032
Functional description
Repeats a 4-20 mA input signal from a control system to drive I/P converters, electrovalve actuators and displays
located in a Hazardous Area. Each isolated channel has a low input impedance and allows complete freedom of
connection in the input loop due to the high common mode compliance with respect to the supply.
A field open circuit presents a high impedance to the control device input to allow alarm conditions to be
monitored.
Model 2031 Model 2032
Application Guidelines
The barrier is suitable to drive I/P converters or similar current driven device in Hazardous Area. Due to the totally
isolation and low voltage drop-out inputs, the unit HiD 2032 is suitable to perform a single input-dual outputs
connection with an external cross wire as shown in figure
A field open circuit presents a high impedance to the control device input to allow alarm conditions to be
monitored.
The unit can be used with all Elcon standard termination board

Table of Contents