EasyManua.ls Logo

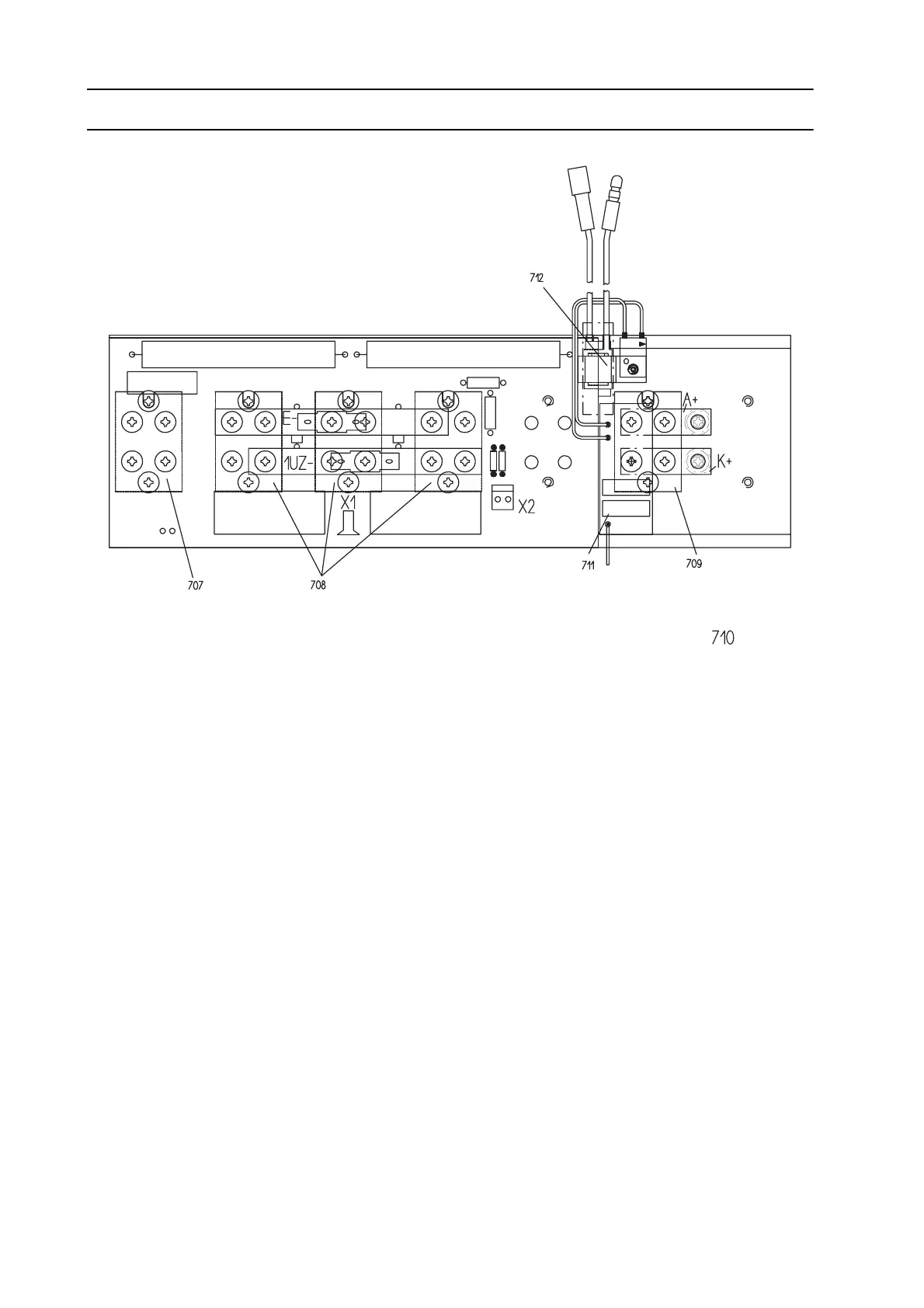
ESAB DTG 405 - MODULE A4, A5, A11, A12; A4, A11 COMPONENT POSITIONS

ESAB DTG 405
92 pages
Print Icon
To Next Page IconTo Next Page
To Next Page IconTo Next Page
To Previous Page IconTo Previous Page
To Previous Page IconTo Previous Page
Loading...
- 30 -
A4, A11 COMPONENT POSITIONS
Warning! The circuit and its parts are connected to mains voltage potential.

Table of Contents

Related product manuals