EasyManua.ls Logo

EverFocus ELR-4 - Alarm Input Contacts; Control Input Contact

EverFocus ELR-4
128 pages
Print Icon
To Next Page IconTo Next Page
To Next Page IconTo Next Page
To Previous Page IconTo Previous Page
To Previous Page IconTo Previous Page
Loading...
11
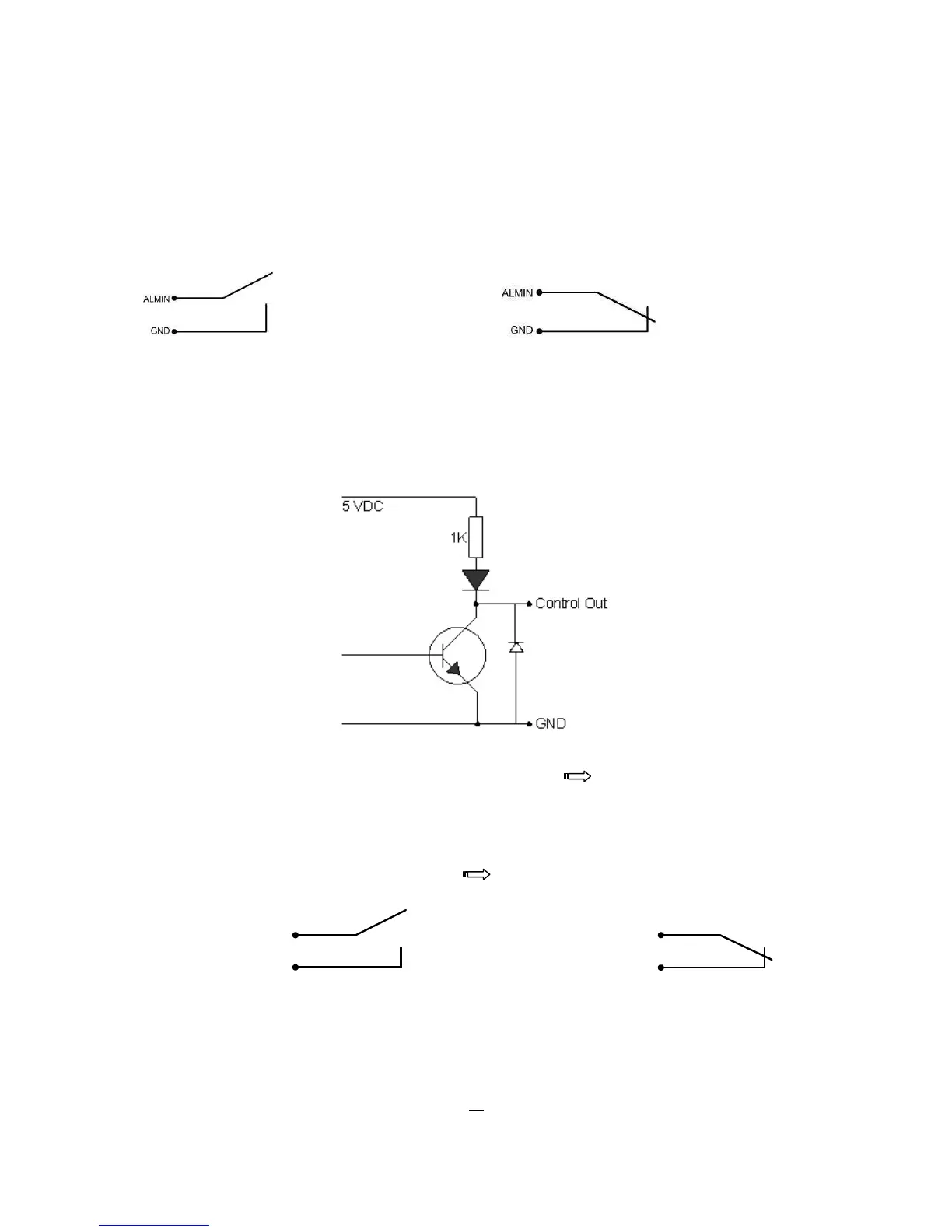
2.4.1 Alarm Input Contacts
ELR4 provides 4/8 alarm inputs. All inputs are programmable N.O. (Normal Open) or N.C. (Normal Closed)
Inputs have to be switched by dry contacts.
Alarm input with N.O. (Normal Open) contact Alarm input with N.C. (Normal Closed) contact
in idle state in idle state
All settings are programmed in the ALARM menu (chapter 5.5.1).
2.4.2 Control Input Contact
The Control Input CTRL IN is a N.O. (Normal Open) contact. Changing to N.C. is not possible.
Control Input relay in idle state
The Control Input Contact CTRL IN is defined in I/O Control menu ( chapter 5.10.4) for following
possible functions:
1. Playback: Playback is active as long the contact is closed. This function is helpful in
combination with the "Quickplay" function ( chapter 5.4.3)
CTRL IN
GND
CTRL IN
GND
Idle state Playback

Table of Contents

Related product manuals