EasyManua.ls Logo

Excel KP-200 - Page 25

Excel KP-200
93 pages
Print Icon
To Next Page IconTo Next Page
To Next Page IconTo Next Page
To Previous Page IconTo Previous Page
To Previous Page IconTo Previous Page
Loading...
19
l. Frequency 0,99 to 1,01 of nominal frequency continuously;0,98 to 1,02 short time.
m. Harmonics Harmonic distortion not exceeding 10 % of the total r.m.s. voltage between live conductors
for the sum of the 2
nd
through to the 5
th
harmonic.
n. Voltage interruption Supply interrupted or at zero voltage for not more than 3 ms at any random time
in the supply cycle with more than 1 s between successive interruptions.
o. Voltage dips Voltage dips not exceeding 20 % of the peak voltage of the supply for more than one cycle
with more than 1 s between successive dips.
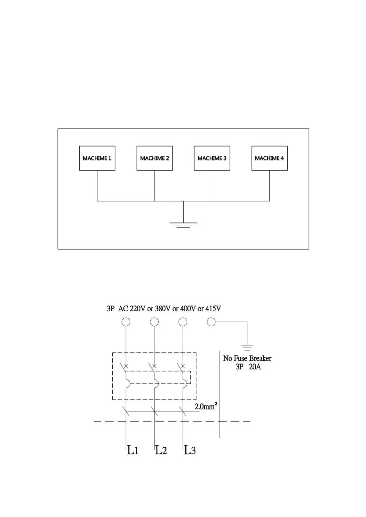
p. Grounding cables must be parallel as follows:
Requirement of power supply at the user’s end:

Table of Contents

Related product manuals