EasyManua.ls Logo

EXFO FTB-860 - Page 282

EXFO FTB-860
675 pages
Print Icon
To Next Page IconTo Next Page
To Next Page IconTo Next Page
To Previous Page IconTo Previous Page
To Previous Page IconTo Previous Page
Loading...
Test Setup - Test Configurator, Timer, and System
270 FTB-700G/800 Series
Streams - Profile
Shaping
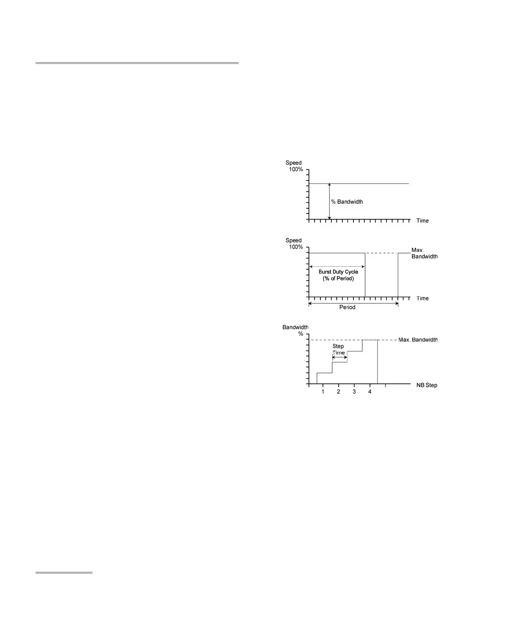
TX Mode allows the selection of the transmission mode for the
selected stream when Data profile is selected. The TX Mode is forced
to Continuous for Voice and Video profiles.
Continuous (default) transfers the
selected frame continuously according to
the selected percentage of bandwidth.
n-Frame transfers the selected number of
frames.
Burst transfers the selected frame at
maximum bandwidth for the selected
Burst Duty Cycle over the Period.
n-Burst transfers the selected number of
Burst.
Ramp transfers the selected bandwidth in
a stair shape according to the selected
step time, number of steps, and maximum
bandwidth.
n-Ramp transfers the selected number of
Ramp.

Table of Contents

Related product manuals