EasyManua.ls Logo

HIKVISION DS-7200HGHI-K1 Series - Ds-9000 Hthi-K8

HIKVISION DS-7200HGHI-K1 Series
220 pages
Print Icon
To Next Page IconTo Next Page
To Next Page IconTo Next Page
To Previous Page IconTo Previous Page
To Previous Page IconTo Previous Page
Loading...
Network Video Recorder User Manual
54
No.
Item
Description
9
Network
Interface
Connector for network.
10
RS-485 and
Alarm Interface
Connector for RS-485 devices. T+ and T- pins connect to R+ and R- pins
of PTZ receiver respectively.
D+, D- pin connects to Ta, Tb pin of controller. For cascading devices,
the first DVR’s D+, D- pin should be connected with the D+, D- pin of
the next DVR.
Connector for alarm input.
Connector for alarm output.
11
eSATA
Connects external SATA HDD, CD/DVD-RW.
12
GND
Ground
13
Power Supply
100 to 240 VAC power supply.
14
Power Switch
Switch for turning on/off the device.
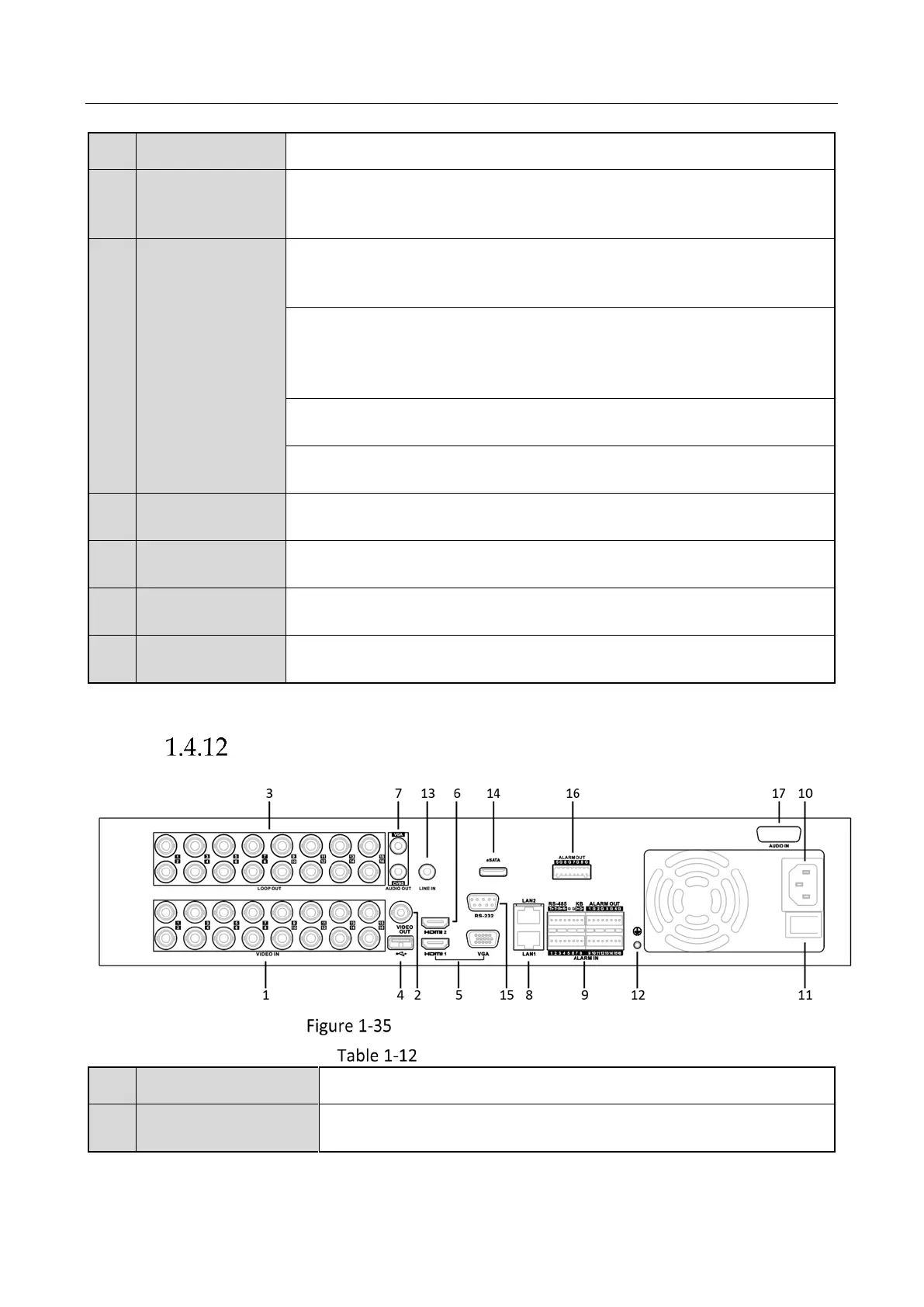
DS-9000HTHI-K8
Rear Panel of DS-9000HTHI-K8
Rear Panel Description
No.
Item
Description
1
VIDEO IN
BNC interface for Turbo HD and analog video input.

Table of Contents

Related product manuals