EasyManua.ls Logo

Hitachi RPI-2.0FSN4E - Removal of the Drain Mechanism; Removal of the Drain Pan

Hitachi RPI-2.0FSN4E
429 pages
To Next Page IconTo Next Page
To Next Page IconTo Next Page
To Previous Page IconTo Previous Page
To Previous Page IconTo Previous Page
Loading...
10 Servicing
338
SMGB0077 rev.0 - 01/2013
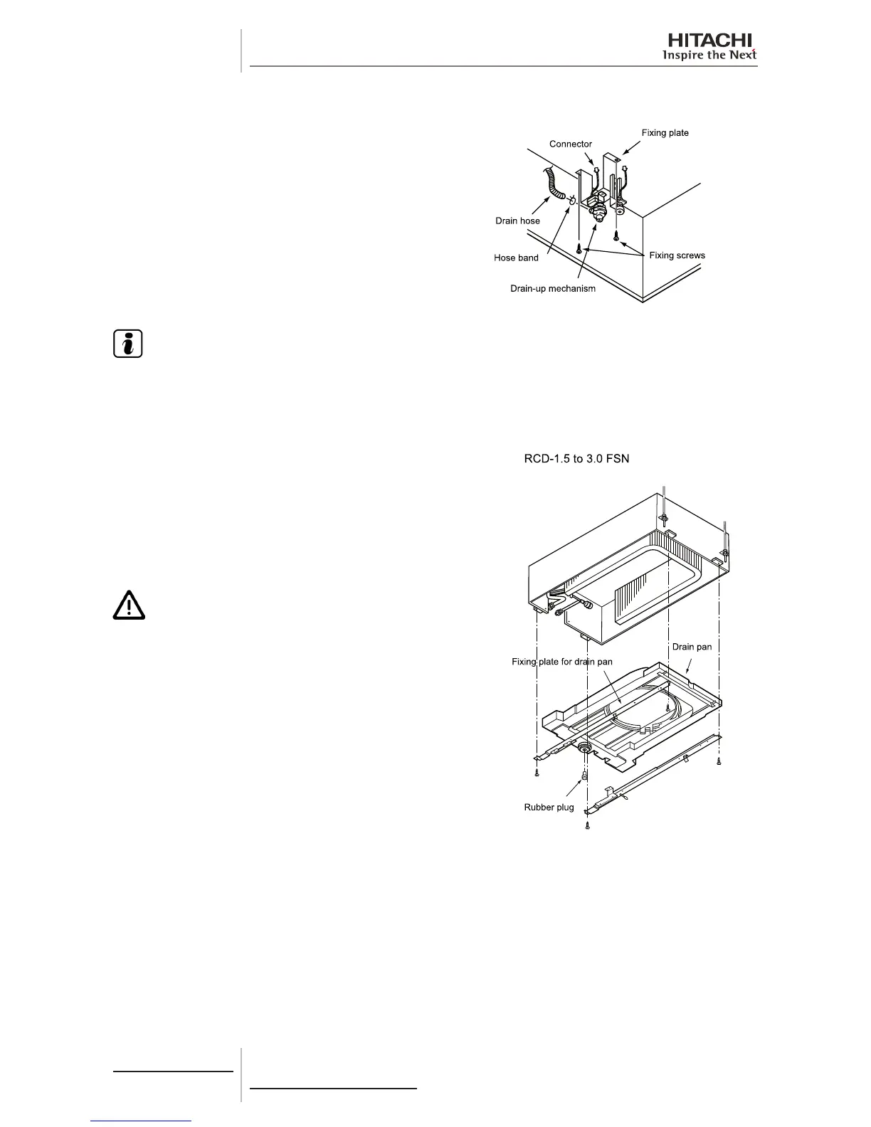
10.4.7 Removal of the drain mechanism
Remove the air inlet grille as indicated in chapter Removal of the
long-lasting lter and the air inlet grille.
Remove the bellmouth in line with the instructions given in chapter
Removal of the fan duct and the fan.
Remove the drain pan as indicated in chapter Removal of the
drain pan.
Separate the connectors from the drain pump and the oat switch.
Remove the ange from the hose and remove the drain hose.
Remove the two screws from the plate securing the drain
mechanism and remove it.
N O T E
When installing, t thedrain hose asfar aspossible in the
pump.
10.4.8 Removal of the drain pan
Remove the air inlet grille as indicated in chapter Removal of the
long-lasting lter and the air inlet grille.
Disconnect the cable between the indoor and outdoor unit and
separate all of the connectors from the electrical box.
Remove the fan duct and the fan as indicated in chapter Removal
of the fan duct and the fan.
Empty the pan of water by removing the rubber plug.
C A U T I O N
The plug is sealed with silicone but can be easily removed
by pulling on the bottom of it.
Do not use a knife or similar to remove the rubber plug, as
this could damage it.
Do not remove or damage the lower plug insulation when
retting.

Table of Contents

Other manuals for Hitachi RPI-2.0FSN4E

Related product manuals