EasyManua.ls Logo

Kuka KR QUANTEC extra - Page 104

Kuka KR QUANTEC extra
127 pages
Print Icon
To Next Page IconTo Next Page
To Next Page IconTo Next Page
To Previous Page IconTo Previous Page
To Previous Page IconTo Previous Page
Loading...
104 / 127 Issued: 18.06.2015 Version: Spez KR QUANTEC extra V6
KR QUANTEC extra
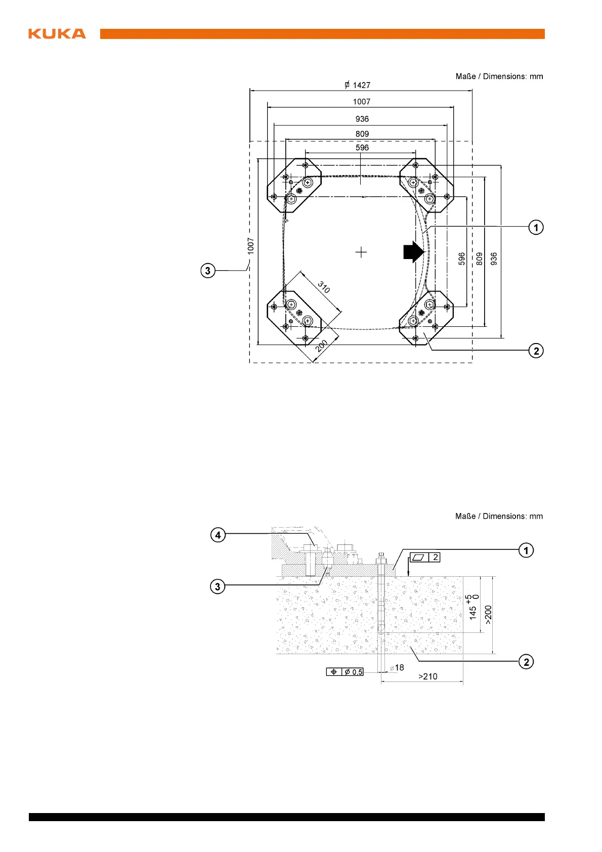
To ensure that the anchor forces are safely transmitted to the foundation, ob-
serve the dimensions for concrete foundations specified in the following illus-
tration.
Fig. 6-2: Mounting base, dimensioned drawing
1 Robot
2 Bedplate
3 Concrete foundation
Fig. 6-3: Cross-section of foundations
1 Bedplate 3 Pin
2 Concrete foundation 4 Hexagon bolt

Table of Contents

Related product manuals