EasyManua.ls Logo

Mitsubishi 4G9 series - Removal and Installation <DOHC-GDI>

Mitsubishi 4G9 series
130 pages
Print Icon
To Next Page IconTo Next Page
To Next Page IconTo Next Page
To Previous Page IconTo Previous Page
To Previous Page IconTo Previous Page
Loading...
4G9 ENGINE (E-W) -
Rocker Arms and Camshafts
11A-8-1
2a
PWEE9502-C
E
July 1997Mitsubishi Motors Corporation Added
REMOVAL AND INSTALLATION <DOHC-GDI>
3.5 Nm
23 Nm
11 Nm
Apply engine oil to all
moving parts before
installation.
2
3
1
4
5
9
13
10
8
11
12
14
6
7
23 Nm
3.5 Nm
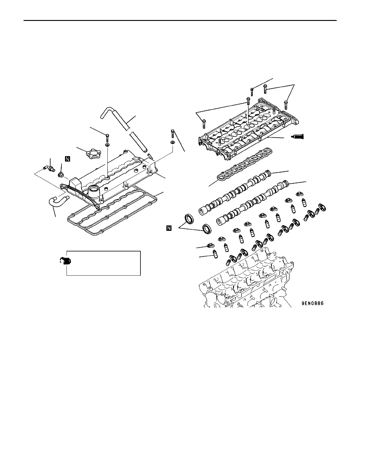
Removal steps
1. Breather hose
2. P.C.V hose
3. P.C.V valve
4. P.C.V valve gasket
5. Oil filler cap
6. Rocker cover
7. Rocker cover gasket
"
L
A
8. Oil seal
"
K
A
9. Beam camshaft cap
10. Gasket
"
J
A
11. Intake camshaft
"
J
A
12. Exhaust camshaft
13. Rocker arm
14. Lash adjuster

Table of Contents

Other manuals for Mitsubishi 4G9 series

Related product manuals