EasyManua.ls Logo

Mitsubishi 4G9 series - Removal and Installation <DOHC-GDI for CARISMA>

Mitsubishi 4G9 series
130 pages
Print Icon
To Next Page IconTo Next Page
To Next Page IconTo Next Page
To Previous Page IconTo Previous Page
To Previous Page IconTo Previous Page
Loading...
4G9 ENGINE (E-W) -
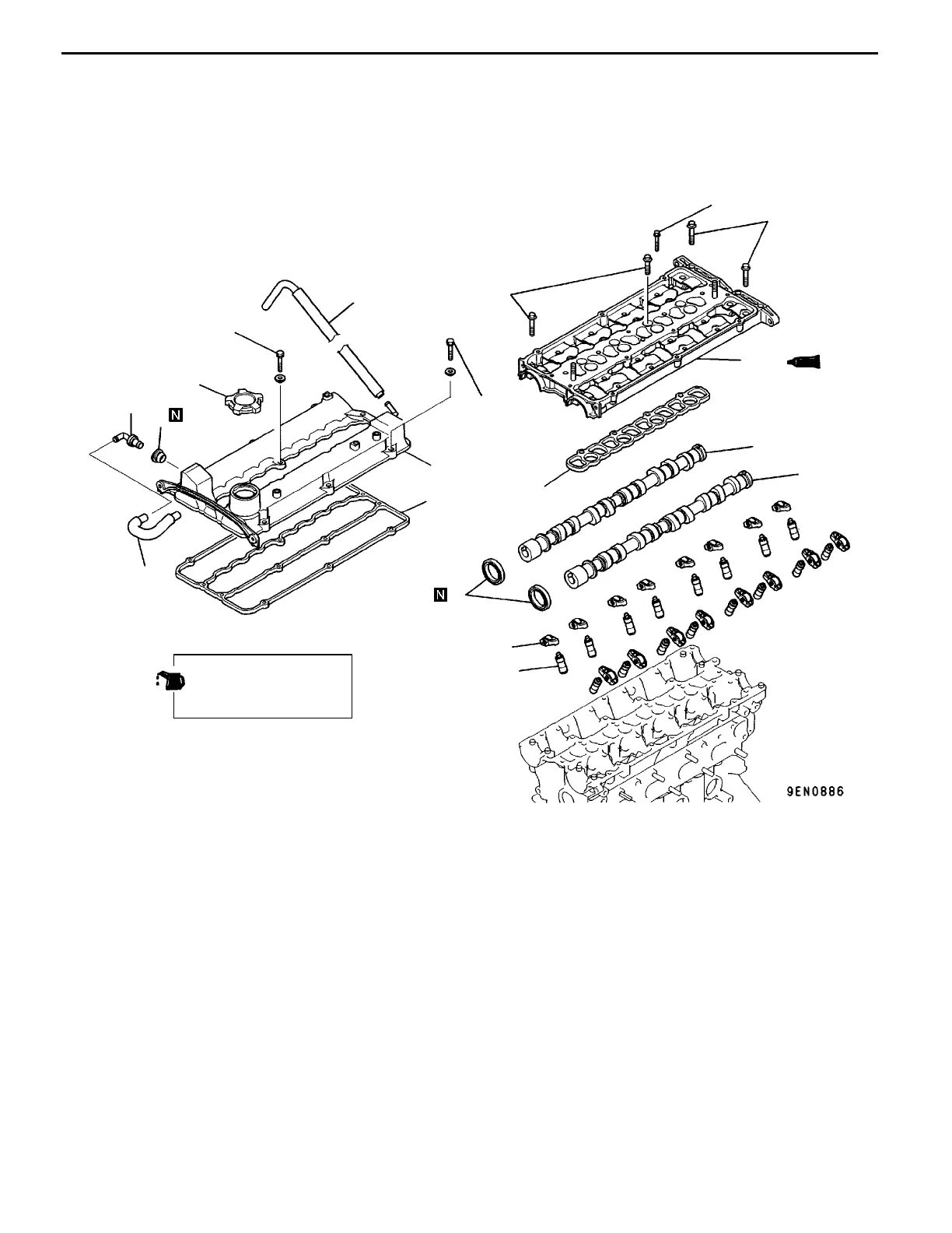
Rocker Arms and Camshafts
11A-8-3
REMOVAL AND INSTALLATION <DOHC-GDI for CARISMA>
3.5 Nm
21 Nm
11 Nm
Apply engine oil to
all moving parts
before installation.
2
3
1
4
5
9
13
10
8
11
12
14
6
7
21 Nm
3.5 Nm
Removal steps
1. Breather hose
2. P.C.V. hose
3. P.C.V. valve
4. P.C.V. valve gasket
5. Oil filler cap
6. Rocker cover
7. Rocker cover gasket
8. Oil seal
"
I
A 9. Beam camshaft cap
10. Gasket
11. Intake camshaft
12. Exhaust camshaft
13. Rocker arm
A
A
""
F
A 14. Lash adjuster
PWEE9502-E
E
Dec. 1998Mitsubishi Motors Corporation Revised

Table of Contents

Other manuals for Mitsubishi 4G9 series

Related product manuals