EasyManua.ls Logo

Mitsubishi 4G9 series - 8. Rocker Arms and Camshafts; Removal and Installation <SOHC>

Mitsubishi 4G9 series
130 pages
Print Icon
To Next Page IconTo Next Page
To Next Page IconTo Next Page
To Previous Page IconTo Previous Page
To Previous Page IconTo Previous Page
Loading...
4G9 ENGINE (E-W) -
Rocker Arms and Camshafts
11A-8-1
PWEE9502
E
May 1995Mitsubishi Motors Corporation
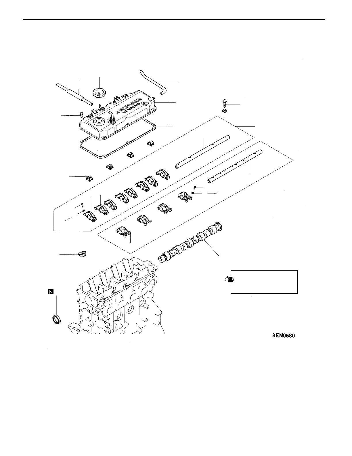
8. ROCKER ARMS AND CAMSHAFTS
11300540070
REMOVAL AND INSTALLATION <SOHC>
35 Nm
31 Nm
9Nm
9Nm
Apply engine oil to
all moving parts
before installation.
2
3
1
4
5
9
13
10
17
19
18
8
11
12
15
14
6
7
16
20
Removal steps
1. Breather hose
2. P.C.V. hose
3. Oil filler cap
4. Rocker cover
5. Rocker cover gasket
6. Oil seal
"
E
A
7. Oil seal
"
D
A
8. Rocker arm spring
"
C
A
9. Rocker arms and rocker arm shaft
IN
10. Rocker arms and rocker arm shaft
EX
11. Rocker arm B
12. Rocker arm A
"
B
A
13. Rocker arm shaft
"
A
A
14. Adjusting screw
15. Nut
16. Rocker arm C
"
B
A
17. Rocker arm shaft
"
A
A
18. Adjusting screw
19. Nut
20. Camshaft

Table of Contents

Other manuals for Mitsubishi 4G9 series

Related product manuals