EasyManua.ls Logo

Omron C200H - Page 61

Omron C200H
374 pages
Print Icon
To Next Page IconTo Next Page
To Next Page IconTo Next Page
To Previous Page IconTo Previous Page
To Previous Page IconTo Previous Page
Loading...
48
quires one line of mnemonic code. “Instruction” is used as a dummy instruc-
tion in the following examples and could be any of the right-hand instructions
described later in this manual.
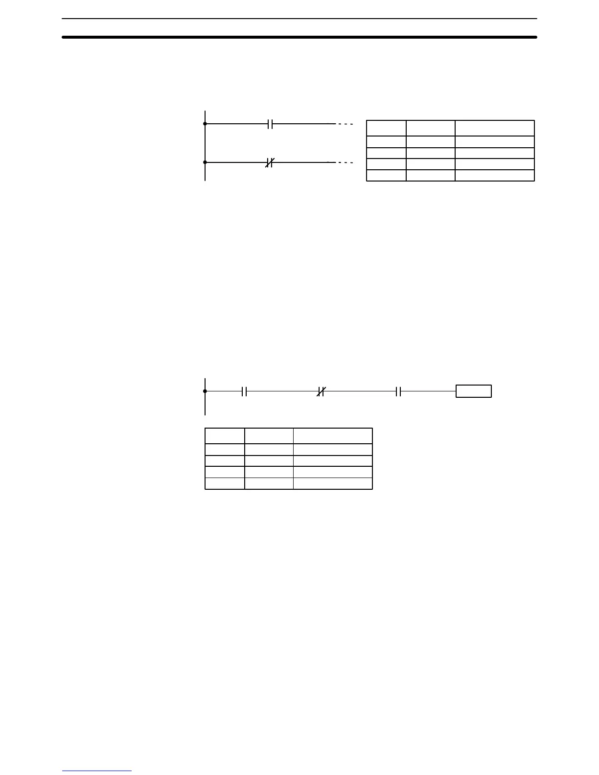
00000
00000
A LOAD instruction.
A LOAD NOT instruction.
Address Instruction Operands
00000 LD 00000
00001 Instruction
00002 LD NOT 00000
00003 Instruction
When this is the only condition on the instruction line, the execution condition
for the instruction at the right is ON when the condition is ON. For the LOAD
instruction (i.e., a normally open condition), the execution condition will be
ON when IR 00000 is ON; for the LOAD NOT instruction (i.e., a normally
closed condition), it will be ON when 00000 is OFF.
When two or more conditions lie in series on the same instruction line, the
first one corresponds to a LOAD or LOAD NOT instruction; and the rest of
the conditions correspond to AND or AND NOT instructions. The following
example shows three conditions which correspond in order from the left to a
LOAD, an AND NOT, and an AND instruction. Again, each of these instruc-
tions requires one line of mnemonic code.
00000 00100 LR 0000
Instruction
Address Instruction Operands
00000 LD 00000
00001 AND NOT 00100
00002 AND LR 0000
00003 Instruction
The instruction will have an ON execution condition only when all three con-
ditions are ON, i.e., when IR 00000 is ON, IR 00100 is OFF, and LR 0000 is
ON.
AND instructions in series can be considered individually, with each taking
the logical AND of the execution condition (i.e., the total of all conditions up to
that point) and the status of the AND instruction’s operand bit. If both of these
are ON, an ON execution condition will be produced for the next instruction.
If either is OFF, the result will also be OFF. The execution condition for the
first AND instruction in a series is the first condition on the instruction line.
Each AND NOT instruction in series takes the logical AND of its execution
condition and the inverse of its operand bit.
When two or more conditions lie on separate instruction lines which run in
parallel and then join together, the first condition corresponds to a LOAD or
LOAD NOT instruction; the other conditions correspond to OR or OR NOT
instructions. The following example shows three conditions which correspond
AND and AND NOT
OR and OR NOT
Basic Ladder Diagrams Section 4-3

Table of Contents

Related product manuals