EasyManua.ls Logo

Panasonic LP-M200 - Mark Step & Repeat

Panasonic LP-M200
308 pages
Print Icon
To Next Page IconTo Next Page
To Next Page IconTo Next Page
To Previous Page IconTo Previous Page
To Previous Page IconTo Previous Page
Loading...
47
1-3-7 Mark Step & Repeat
Sample
ABC
ABC
ABC
ABC
ABC
ABC
ABC
ABC
ABC
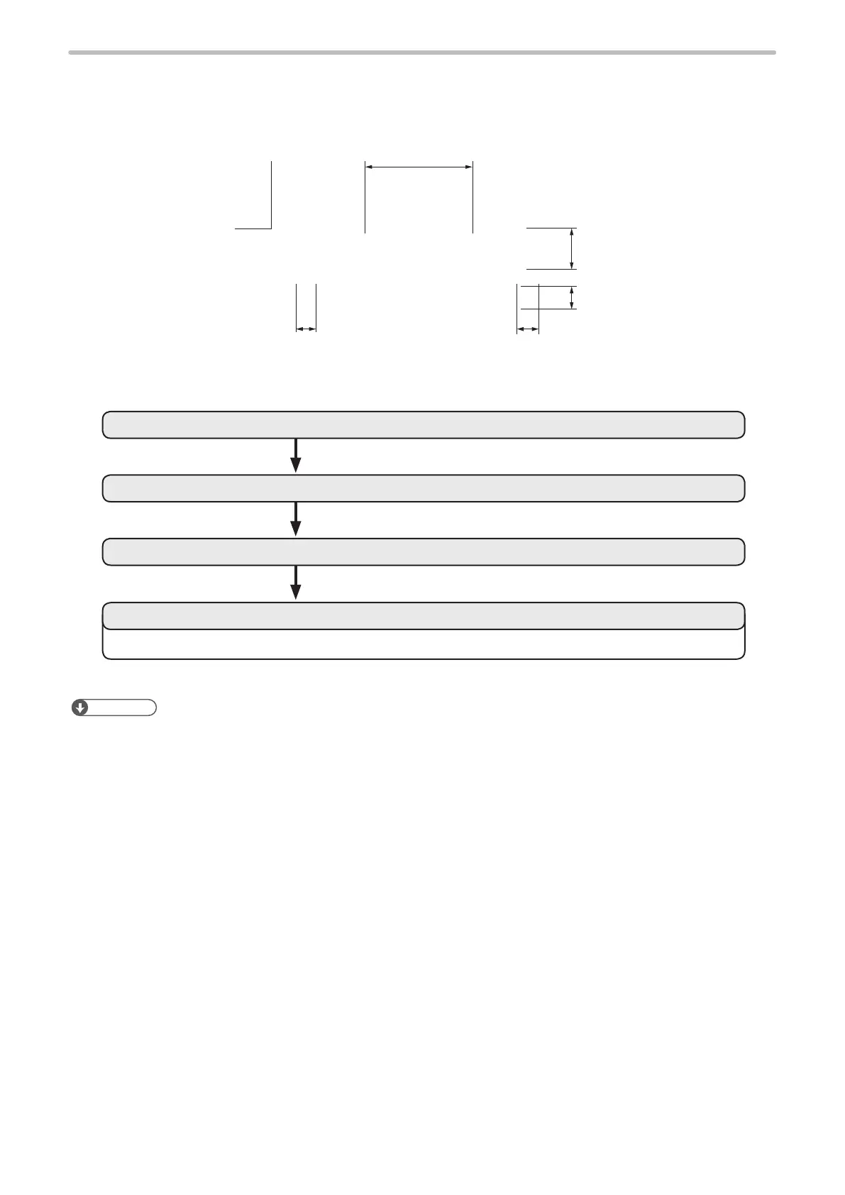
Starting Position: X=-20 mm
Starting Position: Y=20 mm
Column Step: 18 mm
Character Interval: 4 mm Character Width: 3 mm
Row Step: 10 mm
Character Height: 3 mm
Mark “ABC” in 3 columns and 3 rows.
3. Set the conditions for Step-Repeat.
2. Set the character condition.
1. Set the marking character.
Refer to “4. Set the laser condition” (P.20) in “1-2-3 Set the marking data” (P.17).
4. Set the laser condition.
Reference
For details, refer to “Step & Repeat” (P.144).
ME-LPMSZ-OP-7

Table of Contents

Other manuals for Panasonic LP-M200

Related product manuals