EasyManua.ls Logo

Panasonic SA-MAX500LMK - Disassembly of Top Cabinet

Panasonic SA-MAX500LMK
133 pages
Print Icon
To Next Page IconTo Next Page
To Next Page IconTo Next Page
To Previous Page IconTo Previous Page
To Previous Page IconTo Previous Page
Loading...
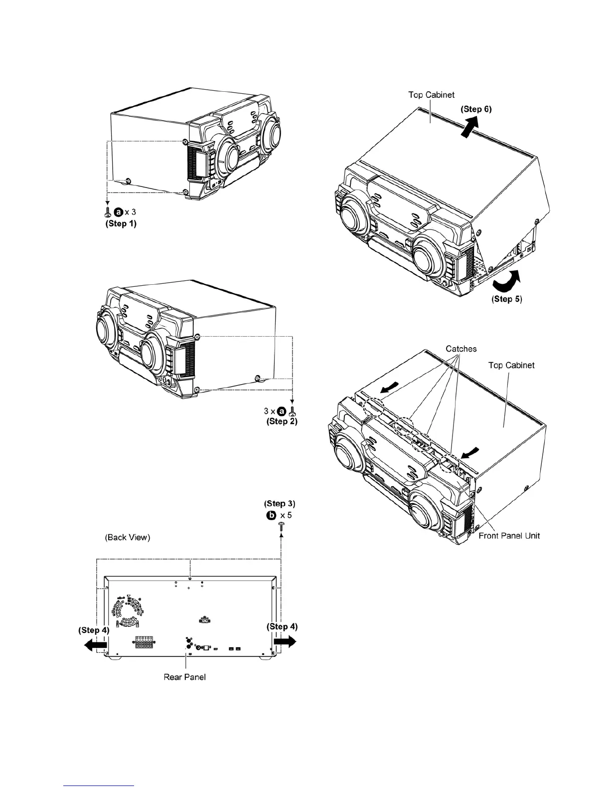
10.4. Disassembly of Top Cabinet
Step 1 Remove 3 screws.
Step 2 Remove 3 screws.
Step 3 Remove 5 screws.
Step 4 Slightly pull both side of Top Cabinet outwards as arrow
shown.
Step 5 Slightly lift up both side of Top Cabinet in an outward
direction as shown.
Step 6 Remove the Top Cabinet.
Caution: During assembling, ensure that the catches of the
Top Cabinet catches are properly located & inserted into
the Front Panel Unit as shown.

Table of Contents

Related product manuals