EasyManua.ls Logo

Reer MZERO - Page 50

Reer MZERO
119 pages
Print Icon
To Next Page IconTo Next Page
To Next Page IconTo Next Page
To Previous Page IconTo Previous Page
To Previous Page IconTo Previous Page
Loading...
STAND ALONE PROGRAMMABLE SAFETY CONTROLLER
50 8541403 • 19/07/2021 • Rev.1
English
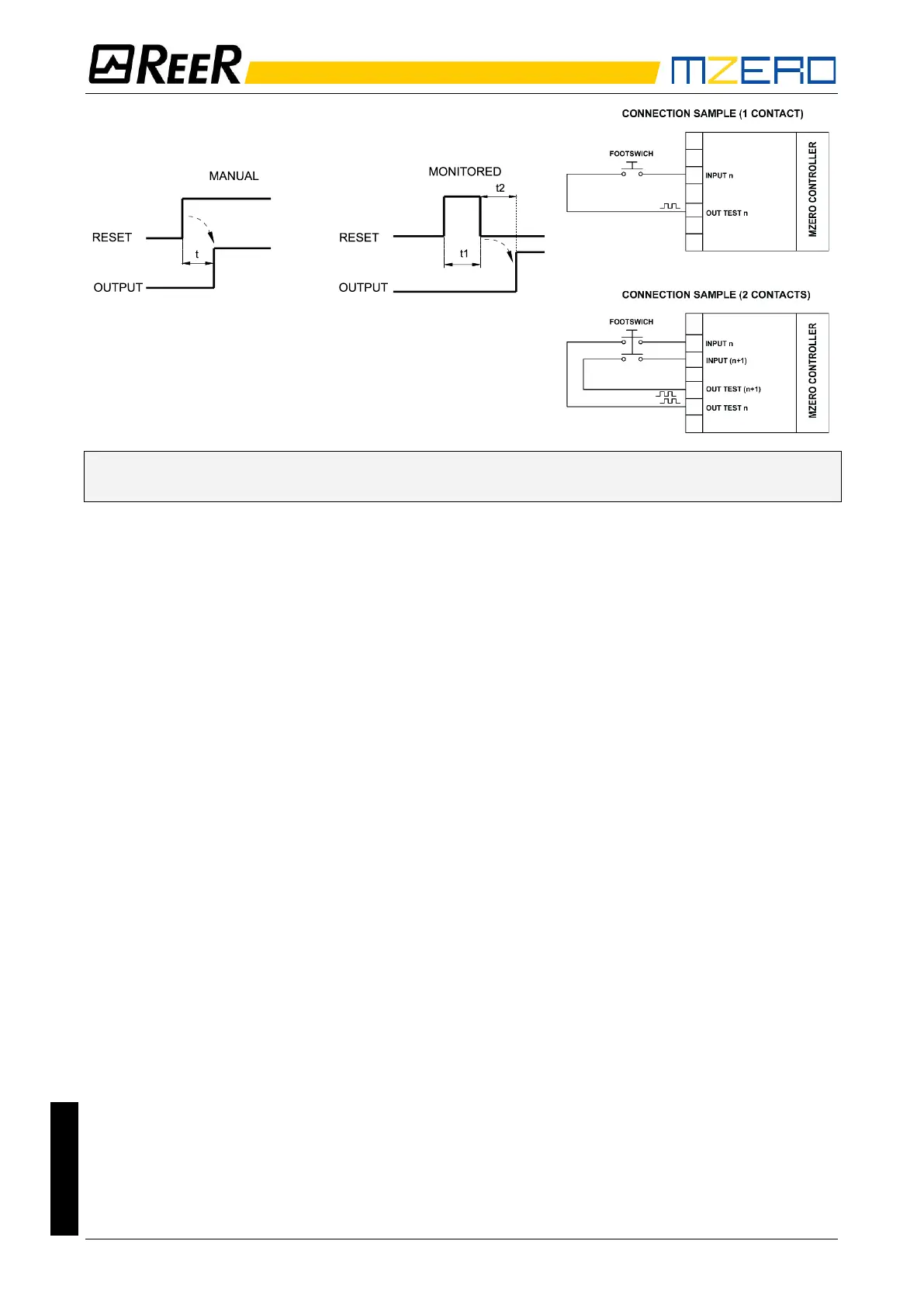
t = 250ms
t1 > 250ms
t2 = 250ms
If the Manual Reset is active, a consecutive Input have to be used. Example: Input 1 and Input
2 are used for the functional block, then Input 3 have to be used for the Reset Input.
Output test: This is used to select which test output signals are to be sent to the component
contacts. This additional control permits detection and management of any short-circuits
between the lines. To enable this control, the test output signals must be configured (amongst
those available).
Test at start-up: If selected this enables the test at start-up of the external component. This test
is performed by pressing and releasing the footswitch to run a complete function test and enable
the output. This test is only requested at machine start-up (when the unit is switched on).
Filter (ms): This is used to filter the signals coming from the external contacts. The filter can be
configured to between 3 and 250 ms and eliminates any bouncing on the contacts. The length of
the filter affects the calculation of the unit's total response time.
With Simultaneity (only with Double NC or Double NC-NO Input type): If selected this activates the
test to verify concurrent switching of the signals coming from the external contacts.
Simultaneity (ms): This is only active if the previous parameter is enabled. It defines the maximum
time (in ms) between the switching of two different signals from the external contacts.
Enable Error Out: If selected reports a fault detected by the function block.
Item description: This allows a description of the component's function to be entered. The text is
displayed in the top part of the symbol.

Table of Contents

Related product manuals