EasyManua.ls Logo

Shinko PCD-33A - Page 26

Shinko PCD-33A
64 pages
Print Icon
To Next Page IconTo Next Page
To Next Page IconTo Next Page
To Previous Page IconTo Previous Page
To Previous Page IconTo Previous Page
Loading...
26
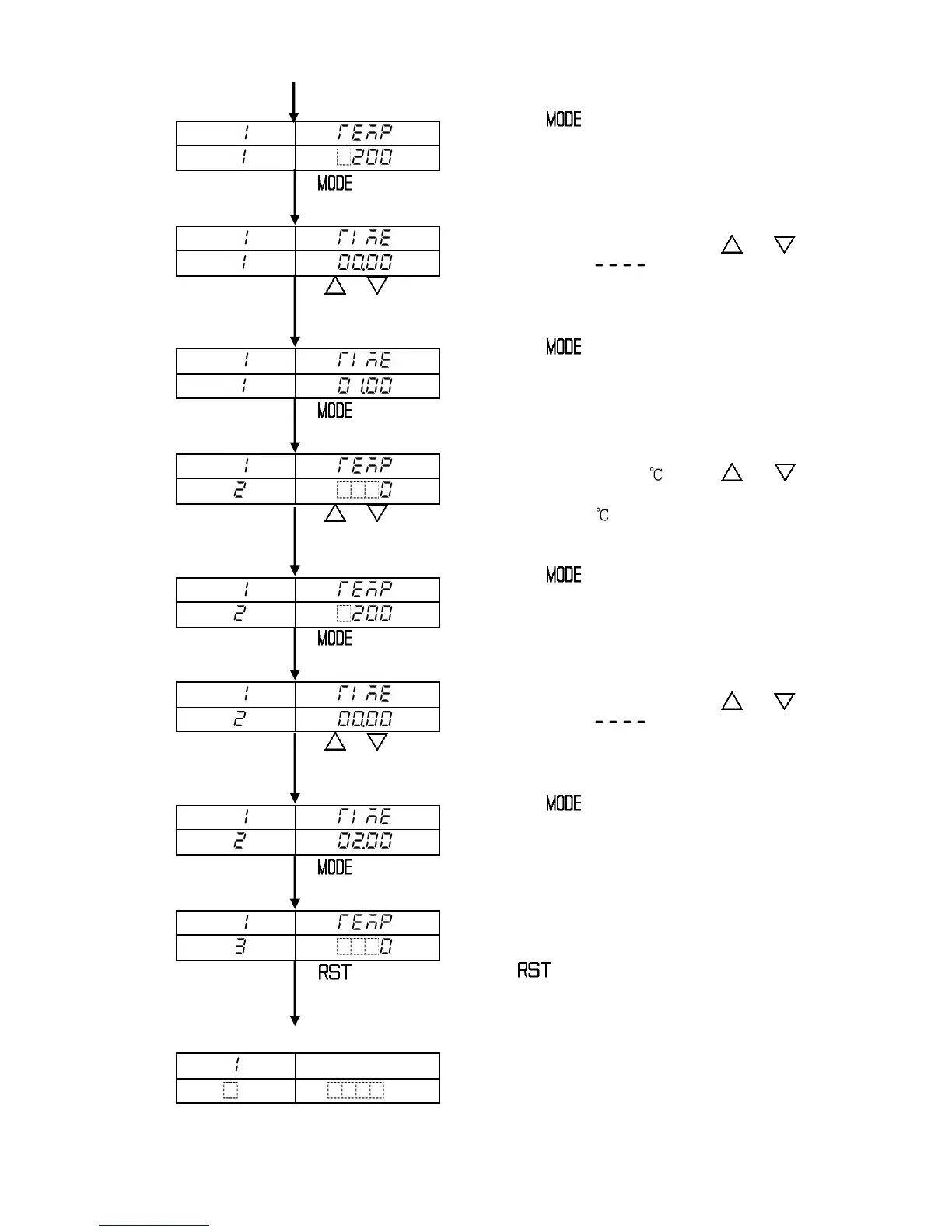
Press the key.
Step 1 step SV is registered, and
Step 1 step time setting mode is selected.
Step 1 step time setting
Set the step time to (1:00) using or key.
Setting range: to 00:00 to 99:59
, (Hour:Minute or Minute:Second)
Default value: 00:00 (Hour:Minute)
Press the key.
Step 1 step time is registered, and
Step 2 step SV setting mode is
selected.
Step 2 step SV setting
Set the step time to 200 using or key.
Setting range: SV low limit to SV high limit
, Default value: 0
Press the key.
Step 2 step SV is registered, and
Step 2 step time setting mode is selected.
Step 2 step time setting
Set the step time to (2:00) using or key.
Setting range: to 00:00 to 99:59
, (Hour:Minute or Minute:Second)
Default value: 00:00 (Hour:Minute)
Press the key.
Step 2 step time is registered, and
Step 3 step SV setting mode is selected.
Step 3 step SV setting
Step 3 and after can be set in the same way as
the above.
Press key to return to program standby
mode
Program standby mode or program control run mode
The program pattern setting (example) has been
completed.
PTN
PV
STEP
SV
PTN
PV
STEP
SV
PTN
PV
STEP
SV
PTN
PV
STEP
SV
PTN
PV
STEP
SV
PTN
PV
STEP
SV
PTN
PV
STEP
SV
PTN
PV
STEP
SV
PTN
PV
Actual temp.
STEP
SV

Table of Contents

Related product manuals