EasyManua.ls Logo

Shinko PCD-33A - Auxiliary Function Setting Mode 1

Shinko PCD-33A
64 pages
Print Icon
To Next Page IconTo Next Page
To Next Page IconTo Next Page
To Previous Page IconTo Previous Page
To Previous Page IconTo Previous Page
Loading...
31
[Program standby mode or program control run mode]
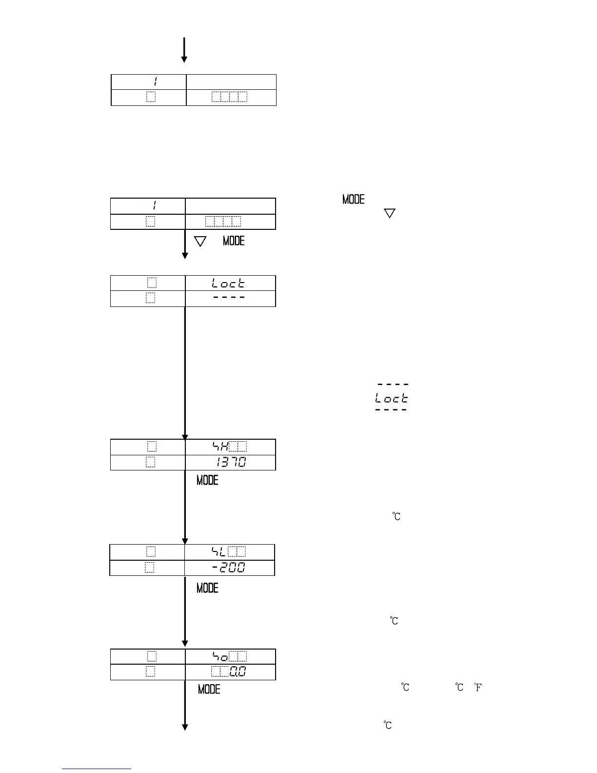
(8) Auxiliary function setting mode 1
The settings in Auxiliary function setting mode 1 are applied to all program pattern
numbers.
[Program standby mode or program control run mode]
Press the key for 3 seconds while
holding down the key.
Auxiliary function setting mode 1 is selected, and
+ (3s) Setting value lock selection item is indicated.
[Auxiliary function setting mode 1]
Setting value lock selection
Locks the setting value to prevent erroneous
settings.
Before designating the lock function, set each
setting item in advance.
Unlock : All setting values can be changed.
Lock : None of the setting values can be
changed.
Selecting item: (Unlock)
(Lock)
Default value : (Unlock)
SV (Setting value) high limit setting
Sets the step SV high limit.
Setting range:
SV low limit to input range high limit value
For DC input, SV low limit to scaling high
limit value
Default value: 1370
SV (Setting value) low limit setting
Sets the step SV low limit.
Setting range:
Input range low limit value to SV high limit
For DC input, scaling low limit value to
SV high limit
Default value: -200
Sensor correction setting
Sets the value to correct PV.
PV=PV + Sensor correction value
Setting range: -100.0 to 100.0 ( )
For DC input, -1000 to 1000 (The placement of
the decimal point place follows the selection.
Default value: 0.0
PTN
PV
Actual temp.
STEP
SV
PTN
PV
Actual temp.
STEP
SV
PTN
PV
STEP
SV
PTN
PV
STEP
SV
PTN
PV
STEP
SV
PTN
PV
STEP
SV

Table of Contents

Related product manuals