EasyManua.ls Logo

Shinko PCD-33A - Page 30

Shinko PCD-33A
64 pages
Print Icon
To Next Page IconTo Next Page
To Next Page IconTo Next Page
To Previous Page IconTo Previous Page
To Previous Page IconTo Previous Page
Loading...
30
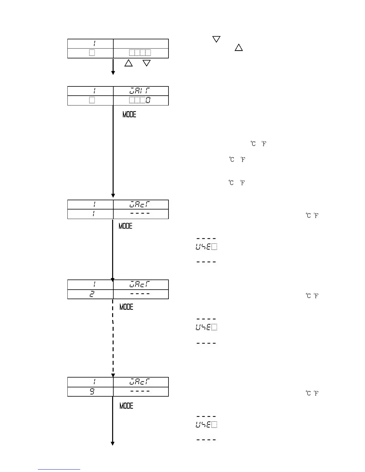
[Program standby mode or program control run mode]
Press the key for 3 seconds while
holding down the key.
Wait parameter setting mode is selected, and
+ (3s) Wait value setting item is indicated.
[Wait parameter setting mode]
Wait value setting
Sets Pattern 1 Wait value.
The step whose temperature is rising:
Step SV Wait value
The step whose temperature is falling:
Step SV + Wait value
Off when set to 0 or 0.0
Setting range: 0 to 100 ( )
For the input with a decimal point:
0.0 to 100.0 ( )
For DC input: 0 to 1000 (The placement of
the decimal point follows the selection)
Default value: 0 ( )
Step 1 Wait function selection
Selects Step 1 Wait function Used or Not used.
Not available if Wait value is set to 0 or 0.0 ( )
during Wait value setting.
Selecting item:
: Wait function Not used
: Wait function Used
Default value:
: Wait function Not used
Step 2 Wait function selection
Selects Step 2 Wait function Used or Not used.
Not available if Wait value is set to 0 or 0.0 ( )
during Wait value setting.
Selecting item:
: Wait function Not used
: Wait function Used
Default value:
: Wait function Not used
Step 9 Wait function selection
Selects Step 9 Wait function Used or Not used.
Not available if Wait value is set to 0 or 0.0 ( )
during Wait value setting.
Selecting item:
: Wait function Not used
: Wait function Used
Default value:
: WAIT function Not used
PTN
PV
Actual temp.
STEP
SV
PTN
PV
STEP
SV
PTN
PV
STEP
SV
PTN
PV
STEP
SV
PTN
PV
STEP
SV

Table of Contents

Related product manuals